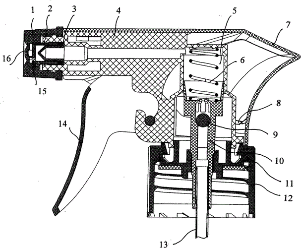
一种抗菌高刚性材料手揿式喷雾器

高清图片下载 免费 安全无风险
一种抗菌高刚性材料手揿式喷雾器

一种抗菌高刚性材料手揿式喷雾器

点击图片查看原图

图片信息

  • 格式: JPG
  • 尺寸: 1507x1983
  • 大小: 约1.2MB

版权声明

相关标签

自然风光 高清壁纸 4K画质

分享图片

相关推荐

基于当前图片的相似推荐

背景技术: 目前,市场上销售的微型喷雾器多为手动式且种类很多,根据

一种抗菌高刚性材料手揿式喷雾器的制作方法

美乐棵 1.5l压力喷壶 浇花喷水壶 喷雾器 园艺用品

如图是家用喷杀蚊蝇用的喷雾器示意图,它的工作原理是:推动活塞时,细

一种背负式手动喷雾器的制作方法

一种不带药液箱的手动液力喷雾器.由手动柱塞泵和喷射部件组成.

一种具有配药机构的手动农药喷雾器的制作方法

随机推荐

发现更多精彩图片

中国三大名马之伊犁马

240206粉丝团结支持丁程鑫帅气亮相

老蜜鸡油黄手排手镯波罗的海天然琥珀蜜蜡立陶宛丹麦海外代购直邮

真丝连衣裙女2020新款气质显瘦收腰绑带v领中长款短袖桑蚕丝裙子

自己栽的枸杞,黄荆都开花了,花虽小但一样芬芳盛开,照样夏花秋 - 抖音

《宝莲灯》播出14年后,主角成了配角,配角变成了影帝,丁香变化大

tortoise_desert_tracking_device

九连环益智解扣解环解锁套装益智新款魔金锁套装国风礼盒40件套

52度第七代经典五粮液限量收藏版500ml 单瓶

帅气钢铁侠海报高清电脑桌面壁纸