80级全染色校服收集 超多图 有剧透 治疗职业_ff14最终幻想14下载

高清图片下载 免费 安全无风险
80级全染色校服收集 超多图 有剧透 治疗职业_ff14最终幻想14下载

80级全染色校服收集 超多图 有剧透 治疗职业_ff14最终幻想14下载

点击图片查看原图

图片信息

  • 格式: JPG
  • 尺寸: 540x792
  • 大小: 约1.2MB

版权声明

相关标签

自然风光 高清壁纸 4K画质

分享图片

相关推荐

基于当前图片的相似推荐

舞者80级的校服太美丽啦

舞者80级的校服太美丽啦

ff14525舞者攻略80级校服染色外观展示

【ff14】兔男舞者80任务90校服_哔哩哔哩bilibili_最终幻想14

【ff14】一个被尾巴勾跑的黑天轮(80舞者校服拍摄花絮)

ff14舞者80级校服染色外观_5.25舞者80级校服染色外观一览_3dm网游

【ff14】7.0全生活职业100级校服展示(龙娘版)/附双染色效果

ff14舞者80级过场动画(鲁加校服)_哔哩哔哩 (゜-゜)つロ 干杯~-bili

ff14舞者80任务动画猫娘留念

[ff14]极哈迪斯-舞者视角

crystaahhl 分享了#最终幻想14黄金的遗产#媒体试玩中各职业新校服的

ff1480级校服在哪里换80级校服兑换npc位置介绍

随机推荐

发现更多精彩图片

过程忽略,#教师节手工花朵 #一束花的仪式感 #感恩老师的辛 - 抖音

二次元头像男高冷帅气黑暗系_男生动漫头像_头像屋

九尾妖狐阿狸海报lol英雄联盟游戏学生宿舍卧室超大壁画墙贴装饰

王者荣耀头像图片大全橘右京修罗

手工达人只用螺丝跟螺母,轻松做出一只黄蜂!

祥云玉如意流苏发簪古风小众设计感簪子复古盘发发钗簪花头饰发饰

当平胸小姐姐遇到d杯胸肌男……网友:伤害性不大,侮辱性极强

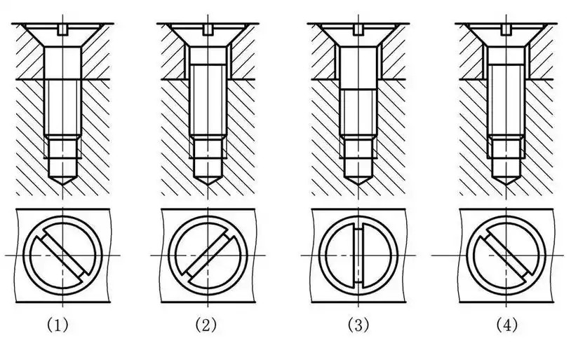
分析螺钉链接装配图的各种画法选择正确的图形