柴油发电机组维修基础 --钳工常用设备(三)

高清图片下载 免费 安全无风险
柴油发电机组维修基础 --钳工常用设备(三)

柴油发电机组维修基础 --钳工常用设备(三)

点击图片查看原图

图片信息

  • 格式: JPG
  • 尺寸: 600x377
  • 大小: 约1.2MB

版权声明

相关标签

自然风光 高清壁纸 4K画质

分享图片

相关推荐

基于当前图片的相似推荐

台钻结构及故障排除

台钻结构及故障排除

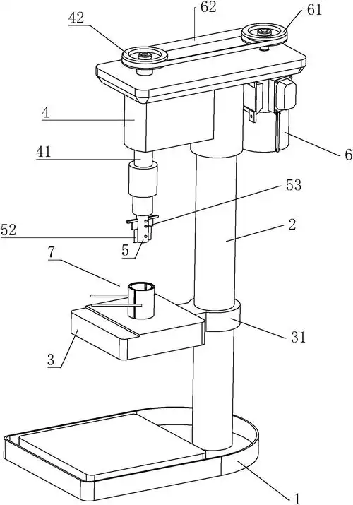
台钻存在如下缺点:1,钻头为固定式结构,限制了钻头位置调整的范围,当

具有自动走刀功能的台式钻床

一种高效组合式台式钻床的制作方法

台钻结构及故障排除

基础知识与安全操作规程

一种简单实用的台钻的制作方法

zj4110家用台钻总装图纸.rar

机械加工机床金属加工设备的制造及其加工应用技术

台式钻床简称台钻,是指可安放在作业台上,主轴竖直布置的小型钻床.

随机推荐

发现更多精彩图片

平板绘画宋亚轩稿件展示

方便自定义的壁纸四象限模板-桌面系统文档类资源-csdn文库

新凯汽车配件 新凯suv压缩机新凯压缩机冷气泵2.4新凯凯胜压缩机

"胸怀祖国,放眼世界"赣州四中八年级地理绘图比赛

caxa制造工程师2006基础教程22烟灰缸加工

定制 又见白娘子白素贞左小青同款古装电视剧蛋白项链锁骨链 演出摄影

两个商人一起出差拿着行李

一字之差 有何不同【明代家具,清式与清代家具】

流鼻血动态表情包合集

野鸡黄鼠狼捕抓器诱捕笼器捕猫笼 抓猫笼捕猫器 捉猫兔子松鼠 43cm拍