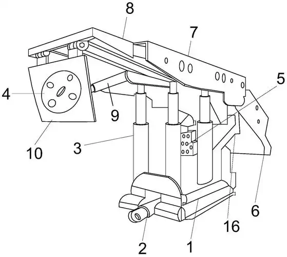
送21个大样图|建筑工程抗震支架安装工艺示意图

高清图片下载 免费 安全无风险
送21个大样图|建筑工程抗震支架安装工艺示意图

送21个大样图|建筑工程抗震支架安装工艺示意图

点击图片查看原图

图片信息

  • 格式: JPG
  • 尺寸: 1280x1812
  • 大小: 约1.2MB

版权声明

相关标签

自然风光 高清壁纸 4K画质

分享图片

相关推荐

基于当前图片的相似推荐

一种超大采高液压支架专利_专利申请于2008.05.13_专利查询_天眼查

一种轻型放顶煤液压支架专利_专利申请于2020-12-31_专利查询 - 天眼

膏体充填液压支架设计与应用-矿机之家

太阳能光伏支架通用设计图纸-搜狐

一种折叠式手机支架专利_专利申请于2017-11-20_专利查询 - 天眼查

复印机支架注塑成型工艺及模具cad图纸设计带word说明文档

机械毕业设计(论文)-zz100003050支撑掩护式液压支架设计【全套图纸】

zy液压支架图册.doc文档全文免费阅读,在线看

单管双向抗震支吊架大样图-产品中心-浙江巨齿鲨金属制品有限公司

一种施工建筑承重支架的制作方法

qy-a型液压支架设计【7张图纸】【优秀】_人人文库网

随机推荐

发现更多精彩图片

能把整片银河装进卧室的星空投影灯,美cry

史上喝酒姿势大全-搞笑频道-手机搜狐

水彩柿柿如意临摹小品

关键词 : 主图,大气光束白色舞台星星黑色主图

山羊老师课程常见心电图基础知识讲座第十一讲——t波分析

捷豹到店看车/试驾#让人心动的f-pace!

《我的世界手游》池塘小景观怎么建 池塘小景观建造图文攻略