柴气炉原理和方案设想

高清图片下载 免费 安全无风险
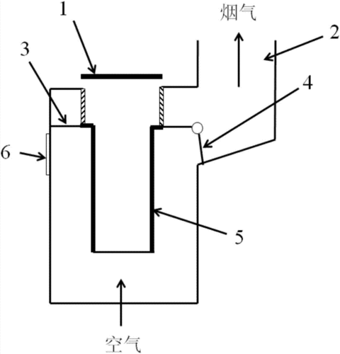
柴气炉原理和方案设想

柴气炉原理和方案设想

点击图片查看原图

图片信息

  • 格式: JPG
  • 尺寸: 551x416
  • 大小: 约1.2MB

版权声明

相关标签

自然风光 高清壁纸 4K画质

分享图片

相关推荐

基于当前图片的相似推荐

背景技术:目前我国农村或山区的家庭炊用依然釆用体积庞大的土砖结构

家用生物质颗粒燃料炉的试验研究

2,通风道的设计通风道是指炉篦以下的空间.

在中国农村是最常见的炊事工具,几乎家家都有,现在的柴火灶常为通过烟

一种无烟燃烧的正烧炊事采暖炉的制作方法

关于进藏用柴气炉做饭的柴火问题

一种带有二次调风功能的家用柴火炉_cn201921531887.1_知雀网

一种无烟燃烧的正烧炊事采暖炉的制作方法

户外用品 亚马逊热卖便携式不锈钢折叠柴火炉 野外野餐露营柴火灶

一种柴火集成灶制造技术

cn1391064a_水煤汽式无烟省柴炉灶失效

下吸式双循环秸秆气化炉

随机推荐

发现更多精彩图片

曾志伟一场生日宴,揭开了他所有的"体面"

【刘威简介选自网络】 刘威,1957年10月16日出生于吉林省长春市,中国

太行山中的茶马古道白陉

通电雾化玻璃型号智能雾化玻璃

彩虹色的蘑菇,单体练习,马克笔零基础手绘系统课程

白玉微瑕 双玉成珏 超绝可爱珏宝宝还有什么你不知道的地方呢?

彩色的牵牛花(周玲玲词曲)

80#苹果收购价才1.2元/斤!近期招远苹果价格不容乐观

北京网红打卡地三里屯夜景

画室布置美术教室艺术培训班教育机构学校幼儿园墙面装饰文化环创

洗脸步骤之擦脸插画素材