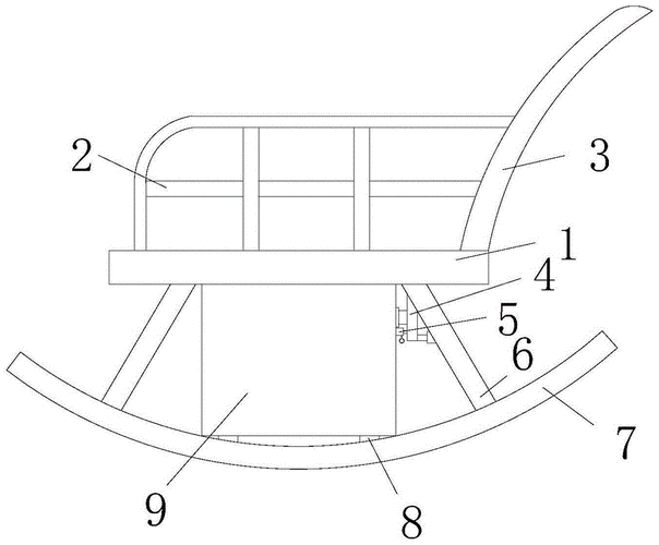
一种户外摇摆旋转椅的制作方法

高清图片下载 免费 安全无风险
一种户外摇摆旋转椅的制作方法

一种户外摇摆旋转椅的制作方法

点击图片查看原图

图片信息

  • 格式: JPG
  • 尺寸: 1000x973
  • 大小: 约1.2MB

版权声明

相关标签

自然风光 高清壁纸 4K画质

分享图片

相关推荐

基于当前图片的相似推荐

折叠躺椅成年人竹摇摇椅家用午睡凉椅老人休闲逍遥椅实木靠摇椅

弘拜楠竹休闲阳台午休摇椅午休躺椅逍遥椅户外秋千摇摇椅成人实木家用

简单的摇摇椅01210626三维图纸(stl格式)

新款网红粗藤吊篮室内户外摇椅秋千藤椅单人双人吊椅摇篮椅仿藤椅咖啡

成都柏木逍遥椅简易家用阳台实木摇摇椅椅户外懒人午休躺椅老人椅

cn208425762u_一种使用舒适的摇椅有效

cn102488406a_自动摇椅有效

一种顶部多功能机构摇椅

厂家批发全身电动摇摇椅按摩椅 /家用多功能沙发椅颈椎保健按摩器

配合高脚椅的小摇椅的制作方法

随机推荐

发现更多精彩图片

《我要当空姐》令人向往的职业背后又有多少的心酸呢

韩式短发半丸子头图片非常漂亮的韩式清秀丸子头发型

新鲜冷冻猪油边肉 护心肉 猪边肋肉 东北大油边20斤 烧烤饭店食材

大别山红色教育基地在哪个省

"天问一号"火星探测器发射成功 中科院在火星探测任务中发挥重要作用

跑道破洞成这个样子简直是没谁了!

2021年7月份日产劲客 1.5l自动挡 新车指导价11.98万 准新车 泰安本

【名人国画】中国画著名国画大师

油彩 画布. 19 ¾ x 25 58吋(50.2 x 65.4公分).

近年来收集的一些硬骨鱼头骨祝大家年年有鱼头骨吧百度贴吧