任嘉伦和老婆聂欢

高清图片下载 免费 安全无风险
任嘉伦和老婆聂欢

任嘉伦和老婆聂欢

点击图片查看原图

图片信息

  • 格式: JPG
  • 尺寸: 690x578
  • 大小: 约1.2MB

版权声明

相关标签

自然风光 高清壁纸 4K画质

分享图片

相关推荐

基于当前图片的相似推荐

「任嘉伦的安全感,让我坚守全职太太的生活」|聂欢|真爱|爱情故事

任嘉伦有个暗恋对象叫聂欢

任嘉伦和聂欢:从朋友到恋人,娱乐圈的佳话!_关系_微博_消息

任嘉伦的妻子聂欢:丈夫成名背后有艰辛,我在家做全职太太也幸福_因为

都说任嘉伦"该长点心"了,其实已婚已育的他活得比谁都清醒_聂欢_爱情

任嘉伦的妻子聂欢丈夫成名背后有艰辛,我在家做全职太太也幸福_因为

任嘉伦:从运动员到明星,爆红时公布恋情,如今一家三口幸福美满_聂欢

任嘉伦:从运动员到明星,爆红时公布恋情,如今一家三口幸福美满_聂欢

任嘉伦:荧屏外的真男人,烈焰中的王者,散发无限魅力_聂欢_狄仁杰_传奇

回顾任嘉伦即使一辈子不红也不抛弃陪伴了我11年的妻子聂欢

原创邓超孙俪佛系日常唐艺昕张若昀童话般爱情任嘉伦聂欢成为经典

任嘉伦:荧屏外的真男人,烈焰中的王者,散发无限魅力_聂欢_狄仁杰_传奇

随机推荐

发现更多精彩图片

王源穿这种绿色的衣服真的好好看啊.

江苏南京金陵十二钗(12版条盒)_烟标/烟盒_第1张_7788陶器收藏

独栋头条银河soho是集大型商业购物商场,写字楼及休闲广场为一体的

cbcc中国建筑色卡千色卡色号查询表

实木双层床,采用智利松木制作,床腿加粗,床边加厚,榫卯 螺丝 - 抖音

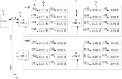
cn105551430b_led箱体和led显示屏系统有效

擦肩而过_手机壁纸_汽车品牌手机壁纸_我要个性网

2012年吴京主演《我是特种兵之利刃出鞘》饰演何晨光剧照12

帝德龙办公桌bgz-b4张 180*120*76cm

金小黑傻fufu第2弹 微信动态表情包