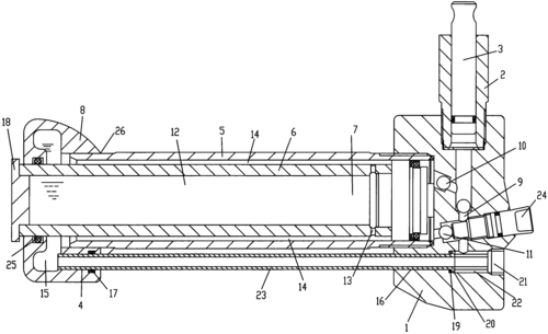
一种可防突降的卧式液压千斤顶的制作方法

高清图片下载 免费 安全无风险
一种可防突降的卧式液压千斤顶的制作方法

一种可防突降的卧式液压千斤顶的制作方法

点击图片查看原图

图片信息

  • 格式: JPG
  • 尺寸: 908x1000
  • 大小: 约1.2MB

版权声明

相关标签

自然风光 高清壁纸 4K画质

分享图片

相关推荐

基于当前图片的相似推荐

cn2885815y_油压千斤顶失效

液压千斤顶的维护保养

cn211056594u_一种可防突降的卧式液压千斤顶有效

液压卧式千斤顶使用教程(含操作步骤图解)

千斤顶工作原理是什么

毕业设计__液压千斤顶

cn102530766a_具有杆内储油腔的卧式千斤顶液压部件失效

cn101691194a_可调式液压卧式千斤顶有效

液压千斤顶工作原理

可移式卧式液压千斤顶-手动卧式千斤顶设计-抬升重量3吨【三维sw模型

卧式液压千斤顶的制作方法

随机推荐

发现更多精彩图片

清晨相互依偎看日出的情侣摄影图片

包包分享##男鞋##女鞋##男包##女包##时尚##高仿女包包##高仿奢侈品

利益的漩涡,被一时的风景挡住了前进的脚步,主持人叶蓉却几十年如一日

3:先天八卦与后天八卦即:乾为天,坎为水,艮为山,震为雷,巽为风,离为火

健身小姐姐爱穿紧身裤,身材婀娜多姿,背影超好看!

进财痣在身体哪些位置 财财痣

好久好久前画的._破云江停q版同人绘画作品

happy teachersday 教师节快乐!

拥有一款品牌腕表就是选择了最有意境的人生