每次洗完头发老腰都快断了

高清图片下载 免费 安全无风险
每次洗完头发老腰都快断了

每次洗完头发老腰都快断了

点击图片查看原图

图片信息

  • 格式: JPG
  • 尺寸: 964x940
  • 大小: 约1.2MB

版权声明

相关标签

自然风光 高清壁纸 4K画质

分享图片

相关推荐

基于当前图片的相似推荐

每天早上醒来腰就像断了一样

年轻人的腰越来越不好了

腰间盘突出压迫神经腿麻怎么治自我锻炼方法来了用一个好一个

你的腰最近疼了吗也许你的腰也需要养养

我的腰要断了一站起来就觉得肚子好重

我的第一反应:建议去的小伙伴记得带好马扎,排签名怕不是腰会断05

打个喷嚏老腰断了什么病这么要命

搞笑漫画牛的天性让老奶奶折了腰

72岁老人腰扭了下,第二天无法起床丨长者警惕骨质疏松致椎体骨折

"我才25岁,腰已经快断了":医生曝光现代人护腰的真实状况,太心酸

随机推荐

发现更多精彩图片

送3色变光台灯-飞的更高521

早上好#感恩生命中所有的遇见 很经典的一段话说站得越高就看滴 - 抖

你的表情包该换血了你发全部家底都在这了柴犬gif占了半壁江山

虫儿飞 小汤3 难度钢琴谱-c调-虫虫乐谱

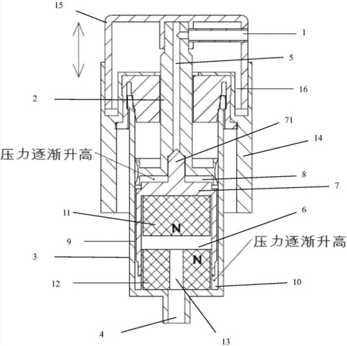
一种喷雾器头的制作方法

(syx)巴西红花梨手串小孔花梨木佛珠2.

伽古拉斯.伽古拉就是泽塔奥特曼里的队长

货运三轮车后桥-后桥,电动车三轮车后桥与电动四轮车后桥专业厂家

好听的群聊名称大全好听的qq群名字大全 ci-玍.