香炉篇漫画版

高清图片下载 免费 安全无风险
香炉篇漫画版

香炉篇漫画版

点击图片查看原图

图片信息

  • 格式: JPG
  • 尺寸: 400x1600
  • 大小: 约1.2MB

版权声明

相关标签

自然风光 高清壁纸 4K画质

分享图片

相关推荐

基于当前图片的相似推荐

魔道祖师旧版无删减第117香炉篇1 - 抖音

香炉篇是真的香啊啊啊

著名梗"天天就是天天" 蓝公子本性毕露 香炉篇里蓝忘机的梦(春)境(梦)

魔道祖师番外香炉未删减版,香炉篇1原文完整版(魔道祖师:现代篇之香炉

上了个肤色有点慌98#临摹 #魔道祖师 #魏无羡#香炉篇 # - 抖音

长图前文网页链接假如香炉梦藏书阁小叽"教"小羡后没有醒来少年叽x

魔道祖师香炉篇漫画三篇

随机推荐

发现更多精彩图片

《town of windmill(风车小镇)》

亲妈是导演,干妈是导演,20年都捧不红的他,却在改名后火了

南京香烟价格表2020价格最完整版

自制三丽鸥迷你盲袋比手指还小的甜品食玩

如何客观评价明朝中期抗倭斗争中胡宗宪的作用?

南非克鲁格国家公园花豹捕食豪猪

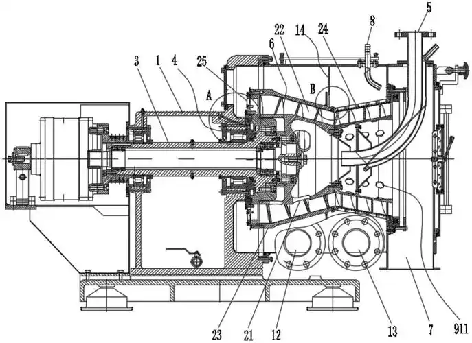
卧式螺旋沉降过滤二合一离心机

宝可梦剑盾喷火龙怎么获得 华蓝洞窟怎么进入

程响《等你归来》简谱分享_简谱_曲谱_娱乐_音乐

6英寸蛋糕与8英寸蛋糕对比,2款新鲜水果生日蛋糕,你喜欢哪款?

海康威视半球室内音频监控摄像头 poe网络高清摄像头200万400万500万