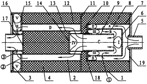
这种消音器通常用于中段消声器和尾段直排消声器,主要用于中高频的

高清图片下载 免费 安全无风险
这种消音器通常用于中段消声器和尾段直排消声器,主要用于中高频的

这种消音器通常用于中段消声器和尾段直排消声器,主要用于中高频的

点击图片查看原图

图片信息

  • 格式: JPG
  • 尺寸: 726x408
  • 大小: 约1.2MB

版权声明

相关标签

自然风光 高清壁纸 4K画质

分享图片

相关推荐

基于当前图片的相似推荐

复合消声器结构图复合消声器中,霍姆赫兹消声器一般用于低频消声,范围

一个人能够同时唱出两个声部的演唱?它能够做到

消音词条图册_百度百科

摩托车消声器的构造与维护

原创人类的语言是如何演化的动物的呼叫声能算语言吗

cn101871473a_一种阻抗复合型消声器失效

因为人体生理图烂熟于心:你会时常怀疑自己学的是不是人体解剖学,自从

麻烦问下声乐中假声带在哪里是什么有这个东西吗

装备消音器的武器 在实战中的作用有多大

一个医学生设计的音箱

闻喜县人民医院耳鼻喉科冯致民医生来我院讲解关于

随机推荐

发现更多精彩图片

毛南族儿童演出服56个少数民族风表演服竹帽子男女童毛南舞蹈服装

凯皇封神之战!开:八门遁甲之阵:死门

抽象的创意概念向量漫画波普艺术风格空白,布局模板与云梁和孤立的点

有无大佬嗦一下绝死绝命的结局(【overlord不死者之王吧】_百度贴吧

竹野内丰接仓科加奈收工 粉碎分手传言

纪念辛亥革命100周年全国书画作品展

南宁简约风格办公室办公区装修效果图

【预售】力诚鳕鱼肠网红鱼肠棒儿童小孩子宝宝零食健康营养休闲小吃桶

纹墨轩双飞燕腰部图腾纹身贴防水女神性感逼真腹部后胸口个性时尚刺青

北湖网红生日蛋糕儿童可爱多啦a梦