我喜欢你隐藏字图片高清柯南表白图

高清图片下载 免费 安全无风险
我喜欢你隐藏字图片高清柯南表白图

我喜欢你隐藏字图片高清柯南表白图

点击图片查看原图

图片信息

  • 格式: JPG
  • 尺寸: 409x900
  • 大小: 约1.2MB

版权声明

相关标签

自然风光 高清壁纸 4K画质

分享图片

相关推荐

基于当前图片的相似推荐

隐艺术字体隐头像隐笔顺隐同音同调字查询

图片中隐藏的11个字,你能找到他吗?

隐藏我喜欢你四字图片一览

隐藏的两句话,16个字的

抖音我喜欢你隐藏字图片

图中隐藏了3个字,你能全部找出来吗

图中隐藏了4个字,你能找出来吗?恕我直言看完这个真的长知识了!

求一些含有句子的图片,就是可以从图中能看出来的,但是这些字隐藏的很

斜看隐藏表白文字图片表白专用图隐藏文字2022已更新今日推荐

抖音我喜欢你隐藏字图片我喜欢你隐藏字图片汇总

隐藏字表白图生成器毛笔字在线生成器2022已更新今日动态

随机推荐

发现更多精彩图片

果是什么意思|果怎么读_笔顺_拼音_笔画_新华字典

女生头像古风真人_小红书

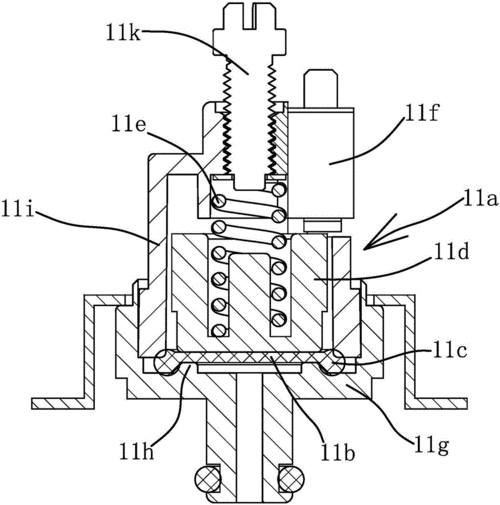
新型压力开关的制作方法

新鲜竹荪贵州织金鲜竹荪花野生竹笙红托竹荪食用菌菇竹参竹孙500g -

500_345gif 动态图 动图

cn/uploadfiles/image/20181202/040b9d83ada2af5800fe8fb4ab7381de.

新款指甲款式图片2021(21年潮流美甲推荐)

武庚纪:躺了一整季的心月葵后来怎么样了?原来她才是最幸运的

超级酷毙的男生手机壁纸#壁纸# #动漫头像和壁纸# [吃鲸][吃鲸][吃鲸]