79万元 长安欧尚x5运动版上市

高清图片下载 免费 安全无风险
79万元 长安欧尚x5运动版上市

79万元 长安欧尚x5运动版上市

点击图片查看原图

图片信息

  • 格式: JPG
  • 尺寸: 750x500
  • 大小: 约1.2MB

版权声明

相关标签

自然风光 高清壁纸 4K画质

分享图片

相关推荐

基于当前图片的相似推荐

长安欧尚x5(长安欧尚x5怎么样毛病多吗)

外观前卫/内饰运动 长安欧尚x5将于明日正式上市

主打812万元市场长安欧尚x5首发多少年轻人激动了

长安欧尚x5—价格亲民配置高,设计新潮动力好,真正为年轻人而来

外观前卫/内饰运动 长安欧尚x5将于明日正式上市

长安欧尚x5正式发布!_凤凰网汽车_凤凰网

长安欧尚x5到店预售价格区间6991059万元

搭载1.5t七速湿式双离合 全新长安欧尚x5即将上市

长安欧尚x5正式上市 售6.99-10.29万元

抢手的长安欧尚x5已到店想买的要抓紧啦

15秒长安欧尚x5 plus亮点汇锦!

有动力保障敢于主打驾控 但不应轻后排 长安欧尚x5实拍简评_手机搜狐

随机推荐

发现更多精彩图片

迪丽热巴吴磊歌隼一闪一闪乔晶晶

卡通人物可爱少女头像116张 甜美萌萌哒_女生动漫头像_头像屋

原创67曾轶可争议不断包小柏留她没我今机场事件再起哗然

小红书超仙女生头像

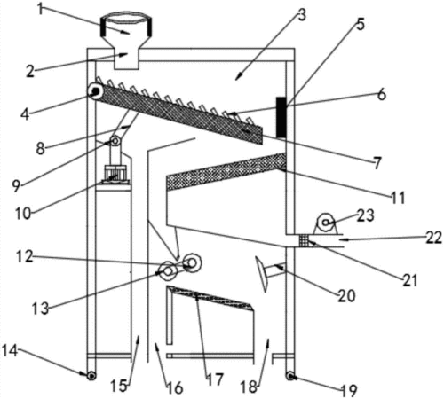
一种自动清理的花生脱壳机的制作方法

还有就是女性假性湿疣与尖锐湿疣的典型特征有明显区别,也能帮助我们

「レイギガント」 pixiv p站 二次元服装教程 动漫服装 女游戏人设

cad画图:三角形内画三个圆相切,见图

小动物的躲雨方式#简笔画

五一假期最佳爬山看水赏花等自驾游景点线路推荐五一自驾游去哪里好玩

[山洪灾害风险预警]受"龙舟水"影响,揭西县降水频繁