现货smc储气罐,smc储气罐使用说明书_供应产品_东莞

高清图片下载 免费 安全无风险
现货smc储气罐,smc储气罐使用说明书_供应产品_东莞

现货smc储气罐,smc储气罐使用说明书_供应产品_东莞

点击图片查看原图

图片信息

  • 格式: JPG
  • 尺寸: 453x349
  • 大小: 约1.2MB

版权声明

相关标签

自然风光 高清壁纸 4K画质

分享图片

相关推荐

基于当前图片的相似推荐

你的空压机储气罐怎么配置的?看看正确的配置方法

lng储气罐侧面结构图

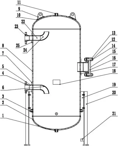
本实用新型涉及立式储气罐,包括筒体和设置在筒体上

有隔板(2),所述隔板(2)将罐体(1)的内部分隔为上腔体(3)和下腔体(4)

储气罐这些安全隐患你了解多少呢

本实用新型涉及lng储存设备结构技术领域,特别是涉及一种加气站lng储

气体或液体的贮存或分配装置的制造及其应用技术

新手进阶并联压缩机回油的几种方法

随机推荐

发现更多精彩图片

关于牛的精神词语或成语

加拿大鹅canadagoose2018秋冬基本款全集

笑脸白云的简笔画可爱

斗罗大陆盘点剧中颜值惊人女配九心海棠叶泠泠惊艳出场

教你画可爱的小姐姐

喜羊羊"成熟风"拟人,冰冰羊化身小护士,红太狼御姐身材太养眼

92探访朱自清故居,感受文学气息 92朱自清故居,位于扬州安乐巷,是

山西运城万荣飞云楼05.