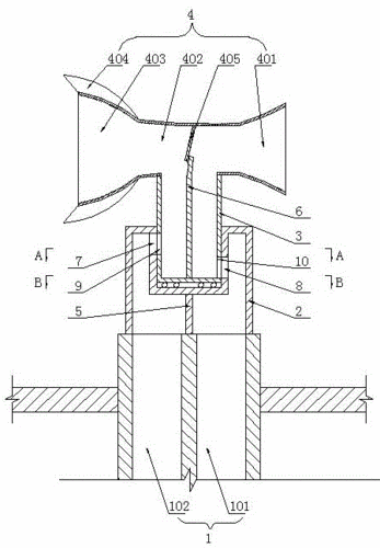
304不锈钢无动力风帽风机屋顶通风器500型600排气风球400烟道管道

高清图片下载 免费 安全无风险
304不锈钢无动力风帽风机屋顶通风器500型600排气风球400烟道管道

304不锈钢无动力风帽风机屋顶通风器500型600排气风球400烟道管道

点击图片查看原图

图片信息

  • 格式: JPG
  • 尺寸: 957x494
  • 大小: 约1.2MB

版权声明

相关标签

自然风光 高清壁纸 4K画质

分享图片

相关推荐

基于当前图片的相似推荐

一种具有送风功能的无动力风帽的制作方法

一种无动力风帽除尘装置的制作方法

风球304不锈钢无动力风帽屋顶通风器厂房烟道排气换气球 没有写成品的

无动力风帽是利用自然界空气对流,以自身独特的结构设计将任何平行

一种屋顶风帽的制作方法

排风通道用无动力风帽的制作方法

上虞聚力无动力屋顶风机不锈钢无风帽无屋顶无风机无动力通风器散流器

一种基于无动力风帽的摩擦纳米发电装置的制作方法

k117-1~3:金属风帽及附件(2014年合订本)

无动力风帽与排气道之间安装节点的制作方法

随机推荐

发现更多精彩图片

2020/简·奢衣帽间的型格气场

李存孝用的毕燕挝到底是个什么鬼竟打的班翻浪脑浆迸出

周深的一些你没见过的照片 应该可以做头像

2019年女生超出好听网名

宝宝脚底长了这种东西,宝妈们怎么办

在动漫《游戏王dm》中,"伊西丝·伊修达尔"似乎在一直在套路"海马濑人

郑州瑞风m4年初降价狂欢最新报价1048万仅此一次

五排头像(二)#电锯人 #头像 #藤本树 #摸鱼 #电次 - 抖音

有一丢丢像车厘子了08但确实不是车厘子,车厘子屁股不开花98我妈

有包包大人了解缅因猫的吗

糖醋鱼块-万无一失的糖醋汁配方

ipad 数字笔记完全指南