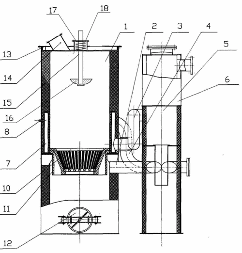
柴火灶制作方法

高清图片下载 免费 安全无风险
柴火灶制作方法

柴火灶制作方法

点击图片查看原图

图片信息

  • 格式: JPG
  • 尺寸: 600x400
  • 大小: 约1.2MB

版权声明

相关标签

自然风光 高清壁纸 4K画质

分享图片

相关推荐

基于当前图片的相似推荐

柴气炉原理和方案设想

户外用品 亚马逊热卖便携式不锈钢折叠柴火炉 野外野餐露营柴火灶

这个无烟柴火炉._家装_家居_家居用品_家居家装_家居用品

一种柴气炉制造技术

下吸式双循环秸秆气化炉

一种带进料口的家用节能柴草炉

一种二次进风高效节能炉制造技术

供热炉灶通风干燥设备的制造及其应用技术

stahl ag)开发了一种简易的钢渣分离技术,即根据虹吸原理,把电弧炉原

一种内燃式野营柴火炉制造技术

cn113063163a_一种旋转火焰无烟柴火气化炉在审

一种无烟节柴灶制造技术,家用无烟节能柴火灶专利_技高网

随机推荐

发现更多精彩图片

中美博弈的成败,取决于这两项任务!|中美会晤|中国外交|美国_网易视频

中华人民共和国-贵州省行政区划地图

68 岁董浩现老态,和金龟子像隔辈人

小岛上有几百年历史的摩梭民居也有几家景色优美的临海客栈小船到达

小汽车简笔画有颜色

粉色多层雪纺镶蕾丝修身长袖连衣裙

4.3寸lcd液晶屏采购要关注产品质量_生产_批发_公司

千年血戰篇 | 黑崎一护 第一次看,看见小手臂上的纹儿,有一点心动,就