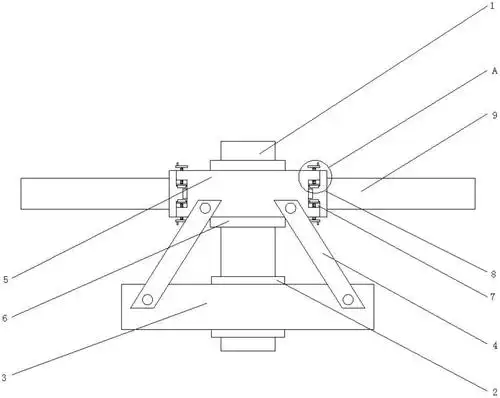
10kv-35kv电力横担抱箍hdbg电线杆横担抱箍安装图

高清图片下载 免费 安全无风险
10kv-35kv电力横担抱箍hdbg电线杆横担抱箍安装图

10kv-35kv电力横担抱箍hdbg电线杆横担抱箍安装图

点击图片查看原图

图片信息

  • 格式: JPG
  • 尺寸: 800x800
  • 大小: 约1.2MB

版权声明

相关标签

自然风光 高清壁纸 4K画质

分享图片

相关推荐

基于当前图片的相似推荐

一种组装型横担的制作方法

35k热水变电站新出新龙线工程(安装横担丶组装铁塔)

配电线路器材-横担,绝缘子.ppt

双回双垂直方棒横担

陵水供电局新村供电所10kv长城线港北台区改造工程:安装横担,导线展放

厂家生产 多功能组合绝缘横担 绝缘支线横担 绝缘临时横担

挂钩横担天津横担横担加工厂家久金查看

越来越多的学员不仅克服恐惧爬到杆顶,而且完成了装横担的任务.

5018 绝缘横担(美国 hastings)绝缘临时支撑横担降价销售-阿里巴巴

一种易安装拆卸的高强度耐张横担

随机推荐

发现更多精彩图片

72茄子炒豆角03家常茄子豆角详细步骤

【编号b014】2020年鼠年大吉系列-微信头像,百家姓氏微信头像,名字

可以分享一些光遇好看的壁纸或头像吗

黄花梨果实能吃吗果实功效与作用

桌面表简约卧室电子闹钟墙挂百搭创意摆件 白体白字【挂钩 数据线】

武则天礼佛的地方,外观气势恢宏,内部奢华.逛完明堂出来接着逛 - 抖音

帝王绿高冰翡翠如意项链吊坠,选料上乘,冰透水润饱满,满绿通透,成色

吃鸡蛋糕和平精英蛋糕男生蛋糕游戏蛋糕

【wotb】kv2评测:6级房最具压迫感坦克.

盘点银幕狼人电影 欧美恐怖血腥日韩温情催泪范