厂家直销 阻尼液压门铰(固装大弯)飞机铰链 烟斗铰链 角度铰链

高清图片下载 免费 安全无风险
厂家直销 阻尼液压门铰(固装大弯)飞机铰链 烟斗铰链 角度铰链

厂家直销 阻尼液压门铰(固装大弯)飞机铰链 烟斗铰链 角度铰链

点击图片查看原图

图片信息

  • 格式: JPG
  • 尺寸: 755x532
  • 大小: 约1.2MB

版权声明

相关标签

自然风光 高清壁纸 4K画质

分享图片

相关推荐

基于当前图片的相似推荐

百隆进口铰链外置阻尼缓冲合页橱柜衣柜门铰直臂中弯

一段力三钉直臂铰链 58克一段力铰链 60克一段力门铰 林柏轩铰链

橱柜铰链大弯中弯什么意思

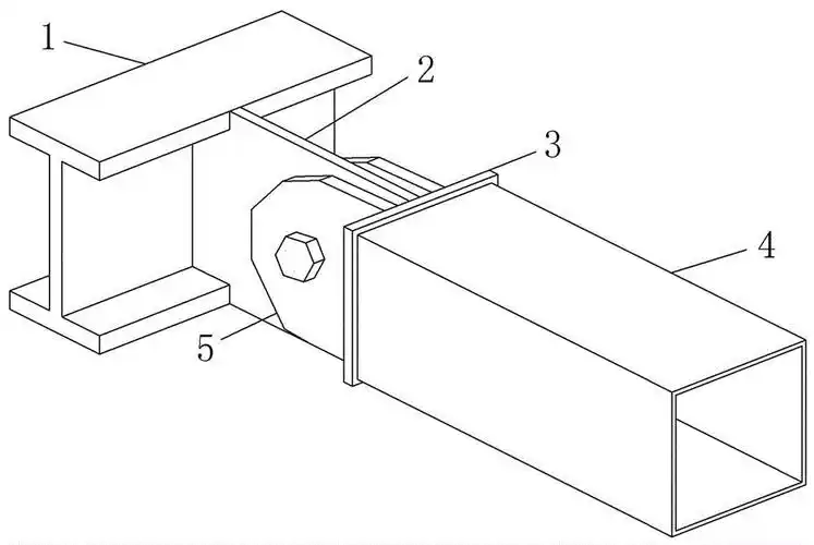
一种钢结构节点的铰接结构

本实用新型公开了一种家具用缓冲铰链,包括依次顺序铰接的铰杯,连接臂

一种钢结构节点的铰接结构的制作方法

cn102161301a_铰接车底盘铰接系统有效

一种预制装配式梁柱铰接节点

一种3d可调节防火铰链的制作方法

cn208101996u_一种转动铰接装置有效

随机推荐

发现更多精彩图片

动态可爱卡通ppt模板 教学教育家长会儿童说幼儿园小学生素材

央视热播于和伟主演的新刑侦剧全员演技在线力推好剧

温州瓯海规划大调整新增大量住宅用地还引入一所30班制小学

本田crv插电式混动版来了,2.0l自吸 电动机,纯电可续航73公里

g大调小步舞曲_手风琴谱_搜谱网

颜人中不舍吉他谱c调吉他弹唱谱

一拳超人:king在寻找师傅,这个四个s级最有可能,埼玉:练肌肉

新雪茄外星人透明保护套电子器烟套挂绳保护套皮套收纳防尘帽4代