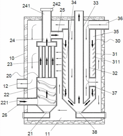
cn87216988u_金属体燃煤两回程间接加热热风炉失效

高清图片下载 免费 安全无风险
cn87216988u_金属体燃煤两回程间接加热热风炉失效

cn87216988u_金属体燃煤两回程间接加热热风炉失效

点击图片查看原图

图片信息

  • 格式: JPG
  • 尺寸: 1760x2240
  • 大小: 约1.2MB

版权声明

相关标签

自然风光 高清壁纸 4K画质

分享图片

相关推荐

基于当前图片的相似推荐

一种热风炉的制作方法

供应立式燃煤热风炉厂家 质量保证免费安装

105mw的燃气热风炉cad图纸dwg图纸

顶燃式热风炉剖面图

cn201363896y_节能型燃煤多用热风炉失效

cn206787048u_一种生物质热风炉有效

一种高炉的热风炉系统

一种多介质燃料通用热风炉

一种生物质热风炉的制作方法

随机推荐

发现更多精彩图片

素描女生头像 素描女生头像唯美侧面

虽然不能用"吃了上顿没有下顿"来形容,因为那是旧社会穷人们的生活

杨紫琼不愧是"华人之光",穿银色纱裙端庄从容,有皱纹也很优雅|礼服

黄金花冠,文艺复兴时期的天使,白色象牙珠,维多利亚朋克婚礼头饰

用字母o和h画抗疫英雄

第五人格调香师怎么玩?

创意手工贝壳画,很多有孩子的朋友都收藏了

民族声乐考级歌曲红旗歌

他笔下的工笔花鸟,清新自然,让人赞赏!

p站每日榜动漫美图推荐第181期平成男人的浪漫假面骑士登场

1/35 牛高达 胸像 制作