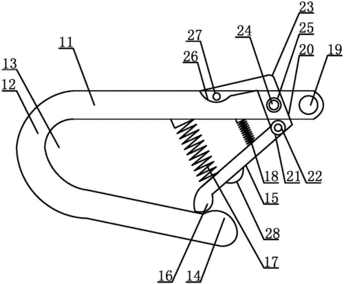
的基本组成部分有着不可代替的作用,吊钩在使用的过程中就是通过挂钩

高清图片下载 免费 安全无风险
的基本组成部分有着不可代替的作用,吊钩在使用的过程中就是通过挂钩

的基本组成部分有着不可代替的作用,吊钩在使用的过程中就是通过挂钩

点击图片查看原图

图片信息

  • 格式: JPG
  • 尺寸: 925x1000
  • 大小: 约1.2MB

版权声明

相关标签

自然风光 高清壁纸 4K画质

分享图片

相关推荐

基于当前图片的相似推荐

一种起重机用自锁挂钩

可自动控制开闭的电动挂钩

一种停车场升降设备安全挂钩

cn208498652u_agv后牵引自动挂钩机构有效

一种自动投放机械挂钩及无人机

cn204057216u_自动传送机挂钩失效

一种自锁式挂钩制造技术

弹异常投放故障原因展开分析,依据产品机械结构原理和投放电路原理

> 救助艇筏两用释放钩,可吊式救生筏自动释放钩

一种用于吊装设备的自动脱钩机构的制作方法

防坠落安全挂钩装置

不便,危险系数高,效率低下的问题,包括连接板,连接板的顶部设置有挂钩

随机推荐

发现更多精彩图片

演员黄日华:演员妻子因病离世快4年了,他的选择和坚持让人泪目_成为了

原创"无敌"的邓超也走到了今天_观众_电影_中国

明艳可爱的气球布置

现代简约客厅懒人沙发电动多功能椅可躺单人沙发卧室用沙发

2米蓝牌自卸 急售 - 常州钟楼货车 - 常州百姓网

组的动物和鸟类矢量图的痕迹

雷行记辽宁沈阳最值得去的地方东北王张作霖的府邸

天然岩石纹理矿物背景石墙面

西瓜从种子和发芽到收获的生长阶段在白色背景上分离

云南师范大学弦风吉他社《一定会再会》_哔哩哔哩 (゜-゜)つロ 干杯