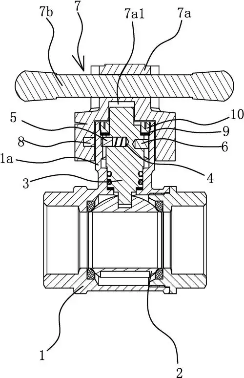
一种磁性锁闭阀的制作方法

高清图片下载 免费 安全无风险
一种磁性锁闭阀的制作方法

一种磁性锁闭阀的制作方法

点击图片查看原图

图片信息

  • 格式: JPG
  • 尺寸: 362x444
  • 大小: 约1.2MB

版权声明

相关标签

自然风光 高清壁纸 4K画质

分享图片

相关推荐

基于当前图片的相似推荐

一种测温一字锁闭球阀的制作方法

一种弹性密封挤压型锁闭阀的制作方法

一种磁性锁闭阀的制作方法

一种全向防爆锁闭阀的锁闭结构-爱企查

cn204628627u_立管锁闭阀有效

cn202768934u_一种智能锁闭阀有效

cn208123501u_磁性锁闭阀有效

一种带机械锁和磁性锁的双重锁闭阀制造技术

柏裕厂家直发水表前闸阀 表前防盗锁闭阀 黄铜加厚伸缩三角锁闭阀

cn2735121y_新型磁性锁闭阀失效

汽车轮胎锁闭阀的制作方法

随机推荐

发现更多精彩图片

黎姿梨涡浅笑摇曳生姿年轻时的她美貌惊人

刘恺威说若不是因杨幂怀孕他们也不可能结婚究竟发生了什么

黄子韬《谈判官》剧照高清图片桌面壁纸

当jojo角色被"女性化"后,乔鲁诺霸气范,布鲁诺气质美貌!

rfid 指纹考勤系统 - buy 考勤,生物识别考勤,指纹识别考勤系统

400/5的指针式交流电流表和互感器和三相四线电度表,我的接法是:l1,l2

商业插画,国庆联名纪念碑谷 #插画 #pr - 抖音

灰姑娘会魔法2睡前故事讲童话故事

国宝级歌唱家刘秉义领衔与您相约大年初三

换头像,一起给考研学生加油"袜"_上岸_祝福_图片