关于lm35的电路问题,请问这张电路图有误不?怎样工作的?

高清图片下载 免费 安全无风险
关于lm35的电路问题,请问这张电路图有误不?怎样工作的?

关于lm35的电路问题,请问这张电路图有误不?怎样工作的?

点击图片查看原图

图片信息

  • 格式: JPG
  • 尺寸: 2233x1881
  • 大小: 约1.2MB

版权声明

相关标签

自然风光 高清壁纸 4K画质

分享图片

相关推荐

基于当前图片的相似推荐

分享8款100w功放电路图-电子发烧友网

电路图:mp3电路图 --电子电路图--电子工程世界

能识别伪码的密码锁(cd4017,cd4093)电路图-dvd电路图-电子产品世界

电子电路基础(6.1.2)--正弦波振荡电路

变频器电路图主控板部分

论坛首页 69 电子技术 69 电源 69 我设计的双路数控电源的电路

南昌理工学院电子设计大赛电路原理图数显顺序控制器

直流无刷电动机控制电路-综合电路图-电子产品世界

同创atx200se3型开关电源ka7500b电路

同相复合直流放大电路-电路图-aet-中国科技核心期刊-最丰富的电子

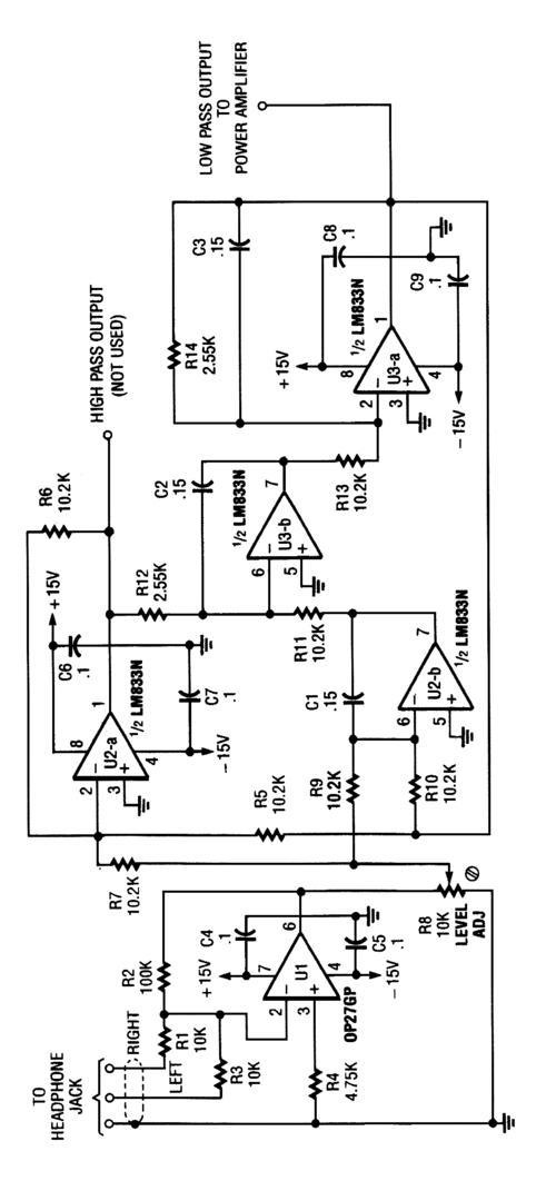
日期:2013/10/25 23:41:40 摘要: 该电子分频器电路

随机推荐

发现更多精彩图片

能不能关闭充电亮屏

回顾焦恩俊被妻子夺走亿万财产和女儿净身出户母亲成为他依靠

海贼王三刀流剑士索隆壁纸,高清图片,电脑桌面-壁纸族

一,看鼻子对于虎皮鹦鹉的公母区别最主要的鉴别就是看鼻子,不同年龄的

好听的两个字男网名

定做亚克力led霓虹透明发光挂墙立体灯箱广告牌通体logo灯箱定制

手工制作#给小朋友用纸箱做个直升机玩具,简单又环保,你学会了吗-度

宝宝哄爸爸睡着后,躺在床上一脸呆萌,娃:妈妈,爸爸被我哄睡了

阜淮铁路全线首榀箱梁架设

00:00 01:30 01:30 为您推荐: 美国空军战术空中控制队,控制他们责任

棍房子diy手工制作模型套材幼儿园手工作业废物利用风车乐园a款小狗版

玫瑰花,线条画风格,艺术设计