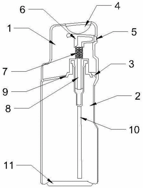
手工喷壶一般大家都有使用,大家知道喷头帽子旋紧旋松是可以调节喷出

高清图片下载 免费 安全无风险
手工喷壶一般大家都有使用,大家知道喷头帽子旋紧旋松是可以调节喷出

手工喷壶一般大家都有使用,大家知道喷头帽子旋紧旋松是可以调节喷出

点击图片查看原图

图片信息

  • 格式: JPG
  • 尺寸: 800x522
  • 大小: 约1.2MB

版权声明

相关标签

自然风光 高清壁纸 4K画质

分享图片

相关推荐

基于当前图片的相似推荐

一种防阻塞手压式喷壶

新冠肺炎疫情期间某班级用于消毒的喷壶示意图如图所示闭合阀门k向下

美乐棵 1.5l压力喷壶 浇花喷水壶 喷雾器 园艺用品

一种手动压力的泡沫喷壶

用于盛装除醛药剂的喷壶的制作方法

一种手扣式喷头的制作方法

一种抗菌高刚性材料手揿式喷雾器的制作方法

一种喷壶的制作方法

浇花喷壶家用手压式室内外园艺气压式喷水壶压力喷雾瓶小型浇水壶

一种观赏富贵子种植用喷水壶的制作方法

一种喷壶_cn201920297765.4_知雀网

一种抗菌高刚性材料手揿式喷雾器

随机推荐

发现更多精彩图片

blood angel 战锤40k之血天使

nachenius - de rijksgedachte groeiend gemaan

弹丸论破处刑剪辑我想要你的才能

金旅牌xml6122j38y型客车图片

一群死苍蝇,孤立在白色上

内裤男手工裁剪balenciaga巴黎世家莫代尔面料丝滑透气男士平角裤

这是东阳最好吃的宣传片!那一口就是家乡的味道