彩弹枪

高清图片下载 免费 安全无风险
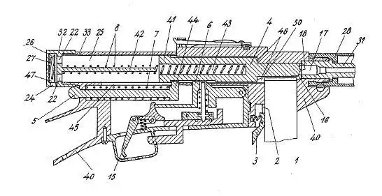
彩弹枪

彩弹枪

点击图片查看原图

图片信息

  • 格式: JPG
  • 尺寸: 1280x960
  • 大小: 约1.2MB

版权声明

相关标签

自然风光 高清壁纸 4K画质

分享图片

相关推荐

基于当前图片的相似推荐

儿童友好|芳庄乡开展星火科创营活动_狙击枪_瑞安市_结构

中国下一代的步枪居然是这个样子?

图文六种方案样枪设计图纸

图文国产新型激光步枪结构图

小小的芬兰用什么枪,在1940年打残了苏联红军?

二战竟有拐弯枪这种操作,威力真的能打死人么?

一,船用撇缆枪产品结构图

毛瑟手枪复杂的结构

mp5冲锋枪系列包括:mp5a基本型系列,mp5sd微声系列和mp5k超短型系列.

三款枪的板机组基本相同

随机推荐

发现更多精彩图片

手绘卡通全家福头像,简笔画全家福头像,幸福的一家三口,一家四 .

罗云熙 润玉 电视剧《香蜜沉沉烬如霜》 俊美至极的天帝玉 图源

可爱卡通形象流氓兔搞笑表情桌面壁纸高清 第二辑

无偿领养飞耳灰色泰迪犬幼犬长不大贵宾茶杯宠物训练

南师大随园校区校园留念

漏斗胸与鸡胸的治疗—青海大学附属医院胸外科

假面骑士saber关于本之魔物天灾的猜想

西西里岛火山埃特纳火山熔岩爆发,高清图片,壁纸 - 酷酷桌面

橡皮泥手工制作可爱动物之毛毛虫png图片素材

52度郎酒美福典藏纸板浓香型白酒600ml礼盒装大约市场价格「52度郎酒

露台上的菜园.花,西红柿在容器里生长照片

30厘米长的小鳄鱼呆在地板上.