鱼器控鱼器控鱼钳指板式鱼嘴路亚钳夹抓鱼器起控鱼钳

高清图片下载 免费 安全无风险
鱼器控鱼器控鱼钳指板式鱼嘴路亚钳夹抓鱼器起控鱼钳

鱼器控鱼器控鱼钳指板式鱼嘴路亚钳夹抓鱼器起控鱼钳

点击图片查看原图

图片信息

  • 格式: JPG
  • 尺寸: 800x800
  • 大小: 约1.2MB

版权声明

相关标签

自然风光 高清壁纸 4K画质

分享图片

相关推荐

基于当前图片的相似推荐

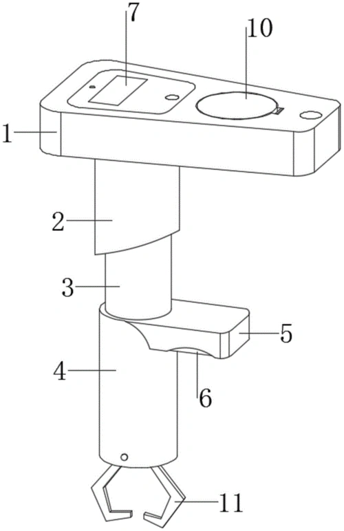
本实用新型提供一种折叠式控鱼器,属于渔具的制造技术领域,其结构包括

一种控鱼器的制作方法

一种双连杆自锁带秤抓鱼器的制作方法

一种控鱼器_cn201920918927.1_知雀网

一种自动测量鱼获重量的控鱼器装置

一种控鱼器的制作方法

08 _ 08 图片_百度百科

控鱼夹抓鱼夹黑色失手绳26cm塑料钳子 控鱼器不伤鱼路亚控鱼钳

管型捕鱼器的制作方法

随机推荐

发现更多精彩图片

简谱莫文蔚当你老了附和弦歌词

斗罗大陆:天青牛蟒是星斗大森林的主宰?

北方虎囚犯衣成人演出服表演节目犯人劳改犯衣服看守所拘留所拍视频

小学生运动会简笔画大全

世界上最恐怖的人尸博物馆姿态蜷缩扭曲你敢去吗

田野是电视剧《飞虎神鹰》里的人物,级别比马小英,燕双鹰都高,张桥

川剧高腔秋江冷清清潘郎今何在陈书舫周企何音频曲谱

各种捕兽夹老鼠夹苍蝇拍捉动物的陷阱等png图片免抠矢量素材

二手烟的危害二手烟对身体影响不大

一组充满神秘感的作品bytiagomarinho更新