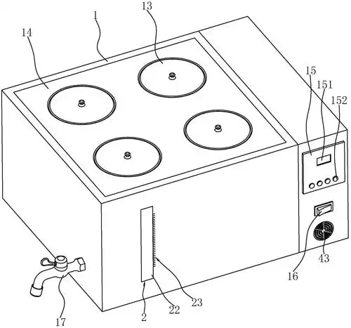
一种数显恒温水浴锅的制作方法

高清图片下载 免费 安全无风险
一种数显恒温水浴锅的制作方法

一种数显恒温水浴锅的制作方法

点击图片查看原图

图片信息

  • 格式: JPG
  • 尺寸: 1000x790
  • 大小: 约1.2MB

版权声明

相关标签

自然风光 高清壁纸 4K画质

分享图片

相关推荐

基于当前图片的相似推荐

一种电热恒温水浴锅-爱企查

一种电热恒温水浴锅的制作方法

cn210434553u_一种恒温水浴锅有效

一种恒温水浴锅的制作方法

恒温水浴锅广泛应用于干燥,浓缩,蒸馏,浸渍药品和生物制剂,也可用于

一种恒温水浴锅制造技术

一种带有加热保温结构的数显恒温水浴锅的制作方法

一种电热恒温水浴锅的制作方法

一种恒温水浴锅的制作方法

干燥,浓缩及水浴加热化学药品或生物制品,其中使用最广的为恒温水浴锅

随机推荐

发现更多精彩图片

看到这张老照片,想起那个年代人的自强不息,奋发图强的意志,每每看到

5.血疑4项44元,rh血型鉴定12元,abo红细胞定型8元(血型)

性感美女助阵职棒 青春靓丽大秀2米长腿

地球上的水——水循环

来自中国台湾的女主播,年龄在美女主播里面其实不算小了,但是保养的

秋清纯唯美情景式品鉴茶

qq女生头像可爱清纯2020 请你害怕点我是个坏人

公共游乐设施插画_公共游乐设施卡通_公共游乐设施插图_手绘_板绘_摄

快来跟我一起画可爱的小松鼠吧!