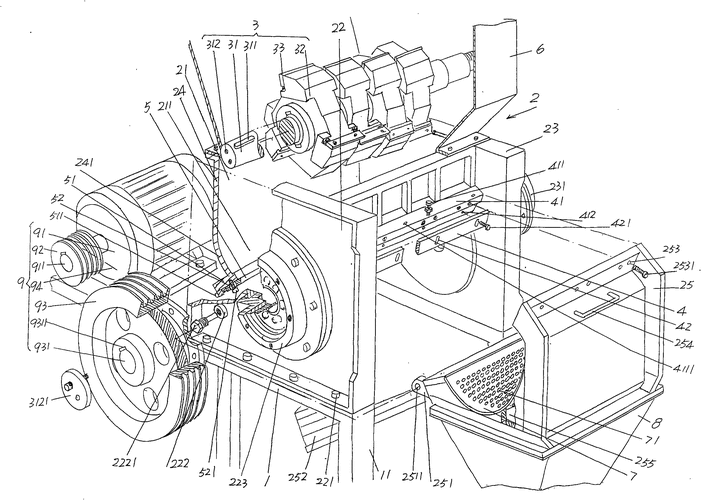
金恒力杭州恒力 pc强力塑料粉碎w机碎料机刀片 粉碎机配件厂家直

高清图片下载 免费 安全无风险
金恒力杭州恒力 pc强力塑料粉碎w机碎料机刀片 粉碎机配件厂家直

金恒力杭州恒力 pc强力塑料粉碎w机碎料机刀片 粉碎机配件厂家直

点击图片查看原图

图片信息

  • 格式: JPG
  • 尺寸: 900x1349
  • 大小: 约1.2MB

版权声明

相关标签

自然风光 高清壁纸 4K画质

分享图片

相关推荐

基于当前图片的相似推荐

塑料粉碎机菠萝刀慢速齿啃式机边边角料回收打料破碎机定制慢速机边

江苏破碎机 10匹爪刀塑料粉碎机 顺德强力塑料破碎机价格

厂家批发 南威多功能1980w角磨机磨光机切割机手磨机抛光机手砂轮

塑料破碎机|薄膜型强力破塑机|片型粉碎机|平型破碎机|馨毅粉碎机

厂家直销 hjw-1100 爪刀粉碎机 胶头料破碎机

厂家现货慢速粉碎机刀片 塑料粉碎机刀 500型切粒机滚刀

贵州大中型塑料粉碎机及刀体结构

高玛塑料薄膜粉碎机pvc平刀破碎机pp尼龙打碎机一字刀撕碎机碎料机 mb

职场/理财 职场就业 > 求职技巧1 一,g41 g42为什么要用刀具半径补偿

10/12号铝制多功能绞肉机 碎肉宝 手动绞肉靡灌香肠机 手摇磨粉

随机推荐

发现更多精彩图片

法拉利四轮滑板儿童初学者青少年小孩男8-10岁以上划板专业滑板车

景甜拍时尚大片 小秀美背性感妩媚

孤身吉他谱 c调简单版 徐秉龙2

紫云庄正品成人学生专用练字书法钢笔正姿经典硬笔书法笔520典雅

警察骑着摩托车简笔画

【塔上俯瞰巴黎城摄影图片】艾菲尔铁塔风光摄影_太平洋电脑网摄影

19中国旅游日,玩转芜湖_滨江公园_文化_古城

芭蕾舞女演员的脚尖

这个6岁姑娘萌坏了,没上过综艺却用表情包火爆了全球!

人体的发音器官是如何发声的

首页 游戏资讯 游戏攻略

冰宝宝用经历告诉火宝宝不要离家出走冰公主良心不痛吗幽默短剧配音