冬季城市树木新围挡

高清图片下载 免费 安全无风险
冬季城市树木新围挡

冬季城市树木新围挡

点击图片查看原图

图片信息

  • 格式: JPG
  • 尺寸: 1280x960
  • 大小: 约1.2MB

版权声明

相关标签

自然风光 高清壁纸 4K画质

分享图片

相关推荐

基于当前图片的相似推荐

城市绿化树木维护,玻璃钢格栅树坑盖板.

1月3日,在山东济南山大路附近,一高校校园内不少围挡被披上绿油油的

养眼的绿色围挡你家门口有吗

围蔽绿化茂名植物墙围挡厂家

四公司广州地铁项目部生态围挡搭建工地绿色"氧吧"

户外绿植围挡垂直绿化围蔽

基本概况: 幸福林带智慧生态围挡长达150米,高3.5米,绿化面积197.

绿植围蔽韶关植物围蔽价格

冬季城市树木新围挡

广州美居林业官方网站专注植物墙围挡绿化仿真树植物墙围蔽围蔽绿化

咱们一般常见的围挡绿化通常用草坪可以选择密度相对低的,高度矮的

新型市政施工绿植围挡的知识要点

随机推荐

发现更多精彩图片

纪梵希彩妆代言人范丞丞##花语传情 爱意来袭

(规划沙盘 杨明摄)巧家县的7个移民安置区,其中5个位于白鹤滩镇,涉及

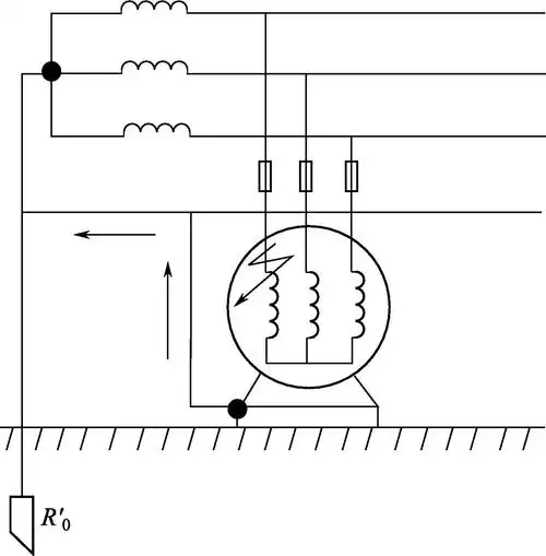
图1-12 电动机的保护接零

玉林市南流江沿江边夜景

新疆军区总医院北京路医疗区健康管理科体检预约指南

广东省汕头市潮南区广祥路靠近金佳诚酒店天气预报

上游时尚张哲瀚浮雕花朵白衬衫矜贵优雅的绅士风范

那么在日本东北部海水的核污染指数将爆表,随着洋流的移动,美国西部

茶叶红茶浓香型新茶武夷山正山小种小袋包装125g/250g/ 正山小种50

女生霸气头像超拽冷酷叼支烟 霸气头像图片大全 -【爱个性】