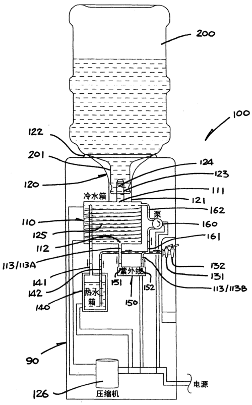
饮水机不出水是什么原因

高清图片下载 免费 安全无风险
饮水机不出水是什么原因

饮水机不出水是什么原因

点击图片查看原图

图片信息

  • 格式: JPG
  • 尺寸: 495x425
  • 大小: 约1.2MB

版权声明

相关标签

自然风光 高清壁纸 4K画质

分享图片

相关推荐

基于当前图片的相似推荐

便民如何正确使用饮水机一起来学习

不洗饮水机,可能会让你腹泻,肚痛

宝子们,管线饮水机安装示意图来了,点赞收藏起来哟95#末端饮 - 抖音

基于pro三维饮水机外壳设计2d图机械cad素材

看图学习饮水机故障维修

ybhzd515127煤矿防爆饮水机厂家直供

饮水机构造图解,饮水机构造原理图解_竞价网

cn2335528y_净化饮水机失效

开水温水想喝就喝不需等待美国airsodawat1060速热饮水机试用评测

饮水机的制热和制冷原理

随机推荐

发现更多精彩图片

头像女唯美淡雅97蓝色梦幻

我爱你,手势,矢量,爱情,插画_高清图片_全景视觉

100m简约北欧风装修边柜特写

个人目标计划书模板

民国王福厂的篆书"马"

壁纸| 青行灯(阴阳师)@667期 今天の二十枚封面图集

十二月哭灵热门音乐才艺民族乐器唢呐

《夺梦》小说_《夺梦》全文免费阅读_作者非天夜翔 - 参考阅读网

关键词:清新蓝色雪花背景 手绘 梦幻 蓝色 渐变 雪花 冰花 唯美 背景

双喜1906多少钱一包双喜1906香烟价格16元包