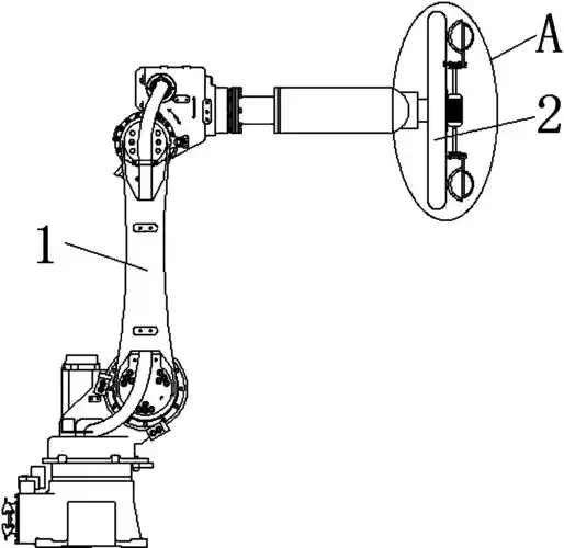
一种六轴工业机器人的制作方法

高清图片下载 免费 安全无风险
一种六轴工业机器人的制作方法

一种六轴工业机器人的制作方法

点击图片查看原图

图片信息

  • 格式: JPG
  • 尺寸: 1000x913
  • 大小: 约1.2MB

版权声明

相关标签

自然风光 高清壁纸 4K画质

分享图片

相关推荐

基于当前图片的相似推荐

一种六轴工业机器人制造技术

一种快速拆装的六轴工业机器人

基于有限元的六轴工业机器人动态性能优化方法与流程

一种六轴机器人的制作方法

一种上下料用六轴关节机器人的制作方法

一种多用途的六轴工业机器人制造技术

cn108942902a_一种上下料用六轴关节机器人在审

背景技术:机械手是能模仿人手和手臂的某些动作功能,用以按固定程序

一种高精密悬臂式六轴焊接机器人的制作方法

一种具有底盘液冷除尘结构的六轴工业机器人

随机推荐

发现更多精彩图片

绿色的电脑壁纸比其他颜色的更加保护眼睛吗

302#鲜果切标签贴纸精品水果商标果标通用果贴现货不干胶定制定做

松果菊,又名紫锥花,紫锥菊,紫松果菊等,是菊科松果菊属,是多年生

创新bmw2系四门海岸蓝

名家花鸟画《白鹭图》欣赏

球队地板上满是血迹.

什么是企业6s管理,企业该怎么做?

这个小"四眼怪"还怪可爱的.第四代大众polo 9n改装欣赏老车 polo9n

权力的游戏小熊女莱安娜莫尔蒙之死