本实用新型涉及躺椅技术领域,特别涉及一种便于拆装的不锈钢摇椅.

高清图片下载 免费 安全无风险
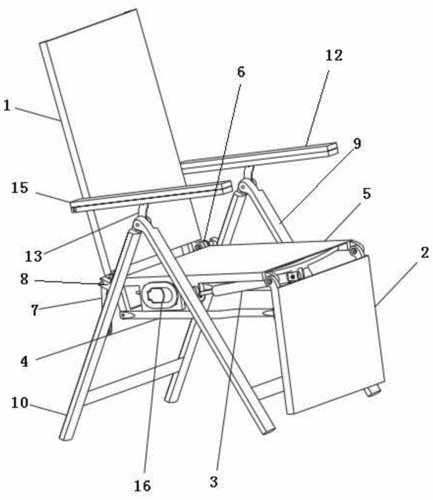
本实用新型涉及躺椅技术领域,特别涉及一种便于拆装的不锈钢摇椅.

本实用新型涉及躺椅技术领域,特别涉及一种便于拆装的不锈钢摇椅.

点击图片查看原图

图片信息

  • 格式: JPG
  • 尺寸: 443x237
  • 大小: 约1.2MB

版权声明

相关标签

自然风光 高清壁纸 4K画质

分享图片

相关推荐

基于当前图片的相似推荐

一种躺椅的制作方法

一种能提高舒适度的躺椅靠背的制作方法

05.如何一步一步制作折叠躺椅

diy分享丨省钱大法150自制露营户外躺椅

cn213046152u_一种靠背调节式躺椅

一种躺椅的制作方法

一种躺椅的制作方法

一种折叠躺椅的制作方法

自制摇椅不求人,电焊工diy自焊铁摇椅,嘿,还真对得起这100元材料费!

一种伸缩躺椅的制作方法

兵耀djt060灰色躺椅床铁管178cm折叠躺椅休闲椅

随机推荐

发现更多精彩图片

人一生必看的250部电影——top49《七宗罪》se7en

运动会赛跑冲刺png素材

可爱狗狗的手工折纸方法,儿童折纸_我的网站

还记得那英的女儿苹果吗?和妈妈一样高了?_高峰_孩子_橘子

神隐少女末日审判不良jk制服套装正统原创学生校服

男人,弯腰,向上,鞋带_高清图片_全景视觉

苹果logo多色iphone壁纸25款超经典

首页-江西浒坑钨业有限公司