没错,真空吸送既可以利用真空泵来制造真空状态,也可以利用鼓风机来

高清图片下载 免费 安全无风险
没错,真空吸送既可以利用真空泵来制造真空状态,也可以利用鼓风机来

没错,真空吸送既可以利用真空泵来制造真空状态,也可以利用鼓风机来

点击图片查看原图

图片信息

  • 格式: JPG
  • 尺寸: 550x328
  • 大小: 约1.2MB

版权声明

相关标签

自然风光 高清壁纸 4K画质

分享图片

相关推荐

基于当前图片的相似推荐

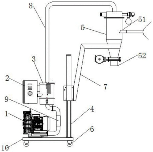
a,真空上料,主要由上料风机,吸气管,原料仓,吸料管,过滤网,电控箱等零

一种移动升降式真空粉末吸料机

真空上料机的工作原理

真空吸料机 全自动上料机700g 800g熔喷布塑料颗粒加料机送料机

800g吸料机/塑料吸料机/真空吸料机/塑料抽料机/塑料填料机

现货宁德市金属铬粉末真空吸料机 3kw高速真空粉体吸料机 一体机

全自动真空上料机电动粉末颗粒真空上料机包装机物料感应式吸料机

榨油机专用 700吸料机 真空吸料机 全自动吸料机 分体式吸料机

上海浦若真空科技有限公司 吸盘 | 真空吸盘 | 妙德 | 真空发生器

塑料颗粒自动吸料机 粉碎料负压加料机 pvc粉末真空上料机 抽料机

一种真空吸附系统的制作方法

随机推荐

发现更多精彩图片

张蓓蓓,1982年9月2日出生,毕业于中央戏剧学院表演系99本科班,中国

著名书法家张训成,精美行草书法新作欣赏, 书艺娴熟,笔墨千秋

用5种恐怖风格,去画hellokitty,是什么模样?结果令人意想不到

泰迪怀孕初期的症状

定制阳台洗衣盆一体成品柜小户型洗衣机柜卫浴洗手盆柜古达组合洗衣机

田英章先生硬笔行书(4000字)赏析(六)

跟这个没有意义的忍界告别吧奥义图 - 抖音

315661156641566日照海上日出 | 清晨的美好开始啦

60天胎宝流产出来的模样网友一边看一边流泪太让人揪心