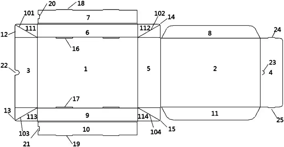
现货白盒 白卡纸盒 白盒子 小纸盒 小白盒 通用包装盒 瓦楞盒定做

高清图片下载 免费 安全无风险
现货白盒 白卡纸盒 白盒子 小纸盒 小白盒 通用包装盒 瓦楞盒定做

现货白盒 白卡纸盒 白盒子 小纸盒 小白盒 通用包装盒 瓦楞盒定做

点击图片查看原图

图片信息

  • 格式: JPG
  • 尺寸: 790x1375
  • 大小: 约1.2MB

版权声明

相关标签

自然风光 高清壁纸 4K画质

分享图片

相关推荐

基于当前图片的相似推荐

谁有cdr格式的包装盒,展开图也可以,老师叫交作业了.好心人!

小型包装盒尺寸图图片

包装展开矢量图138个多种尺寸规格图片

快速成型快递包装盒

急求用photoshop做的包装盒平面展开图,最好要标有尺寸的.

求 包装设计尺寸的展开图

实用礼品盒型包装展开图

常见盒型展开图##支持定制各种款式及尺寸 ##包装盒定制 # - 抖音

包装展开图尺寸:40*25*13

随机推荐

发现更多精彩图片

谁能告诉我,成龙带的眼睛叫什么名字?

50年代黑釉(励行节约,勤俭持家)翻口鱼鳞酒坛

真皮结婚新郎鞋休闲布洛克鞋商务正装包邮雕花潮流青年鞋男士春季

第1088期|沙雕头像:0804沙雕四姐妹闺蜜头像 - 知乎

现象和本质的辨证关系 现象和本质的关系 - 质与本质的关系 - 实验室

方料斗工地塔吊砖斗塔机料斗灰斗混凝土方斗砖斗加厚吊斗斜口平斗 3厘

英民宅挖出132年前头骨 死者被煮熟喂小孩(图)

梅多克橡木桶陈酿2011干红 baron de veysin

男子乳房肿大,似"再次发育",医生为其进行首例腔镜乳腺手术!

鲶鱼生鲶鱼土鲶鱼烧茄子啤酒口福鲶鱼浮雕鲶鱼红烧鲶鱼酥饼黄焖土鲶鱼

电脑壁纸 花卉 鲜花 姽婳的曼珠沙华