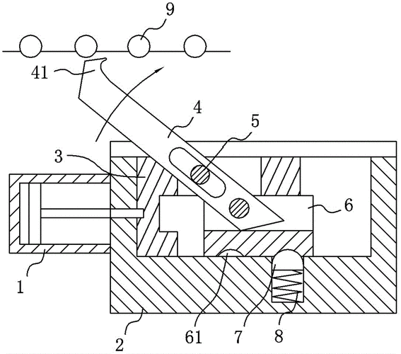
机械原理课程设计任务书(单边滚轴自动送料机构设计与分析)

高清图片下载 免费 安全无风险
机械原理课程设计任务书(单边滚轴自动送料机构设计与分析)

机械原理课程设计任务书(单边滚轴自动送料机构设计与分析)

点击图片查看原图

图片信息

  • 格式: JPG
  • 尺寸: 1526x977
  • 大小: 约1.2MB

版权声明

相关标签

自然风光 高清壁纸 4K画质

分享图片

相关推荐

基于当前图片的相似推荐

间歇送料机构原理动画

三合一送料机操作时的特别注意

cn204250797u_一种步进送料机构有效

本发明提供一种送料装置,包括行走机构,主门架和抓取机构;所述抓取

cn204150593u_推摆间歇送料机构失效

cn104308022a_冲床间歇自动送料机构失效

间歇送料机构原理动画

送料机构设计图,送料机三维图

连杆间歇式上料机构设计,如何实现的呢?

随机推荐

发现更多精彩图片

画画原来如此简单悲伤这样的事情流一流泪就好了

水果头像唯美香甜多汁的水蜜桃图片

患抑郁症的摄影师用17张自拍来描绘抑郁的痛苦

9门店价218已售8截止日期:2023年6月17日【搏击团课】成人健身格斗5款

拉布布之看不见我的系列盲盒.都是自己的许愿款.爱了爱了.#

9月23日,公交车在校园内转运新生到宿舍区.清远日报记者 邱炜民 摄.

怕是傻子哟-表情图片 - 壁纸家

每天吃槟榔连吃5年身体会发生什么病症割半张脸可能都是轻伤

觅夕年新款秋季女士单鞋深口中跟时妈妈鞋方头系带皮鞋定制联名款深