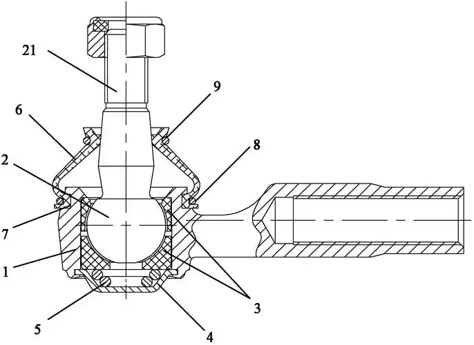
m4前悬挂球头缺陷,也许很严重!(欢迎探讨)

高清图片下载 免费 安全无风险
m4前悬挂球头缺陷,也许很严重!(欢迎探讨)

m4前悬挂球头缺陷,也许很严重!(欢迎探讨)

点击图片查看原图

图片信息

  • 格式: JPG
  • 尺寸: 489x440
  • 大小: 约1.2MB

版权声明

相关标签

自然风光 高清壁纸 4K画质

分享图片

相关推荐

基于当前图片的相似推荐

汽车球头总成-爱企查

【图】大众朗行,转向拉杆外球头这是漏油了吗?_朗行论坛_汽车之家论坛

前悬架下摆臂球头,汽车下摆臂球头分解图

系6系7系上下摆臂左右羊角总成球头拆车 - 汽车零部件/养护/美容/维保

骏捷双叉臂前悬挂下摆臂主销球头设计是不是合理

格柏威(kpv)汽车方向机球头横拉杆内外球头(1个)专车专用适用于奥迪

febi polo波罗朗逸宝来新捷达桑塔纳晶锐三角臂球头悬挂摆臂球头

汽车球头坏了有什么影响

万向钱潮(桂林)汽车底盘部件有限公司_出口采购悬挂球头 图纸 已审核

汽车转向拉杆有什么用

三菱帕杰罗 全车底盘球头.三菱帕杰罗v73 v75 v77 - 抖音

一种汽车零配件前下臂球头双波防尘罩的制作方法

随机推荐

发现更多精彩图片

带刀超帅动漫男头 听说你们喜欢这种 有什么喜欢的可以投稿哦 随时提

久病皆因有"四虚",灼艾扶阳养精,通治一切虚症!

完美的他#77何洛洛 .77陆啸 .

杭瑞高速金沙特大桥 黄超摄

【图片6】宁夏中卫市(沙坡头)--蜂鸟论坛照片套图

与中国同为五角星旗,越南国旗怎么来的?真的是参考中国国旗?

nike耐克官方训练双肩包春季书包春季缓震收纳拉链口袋个性ck2663 010

手工课#【折纸教程】玫瑰(难度:三颗星)

瑞风m4属于面包车吗_瑞风m3和m4车身尺寸区别 - 阜阳汽车网

电力金具接地线夹三色绝缘接地线夹绝缘接地环地线夹线路配电卡线