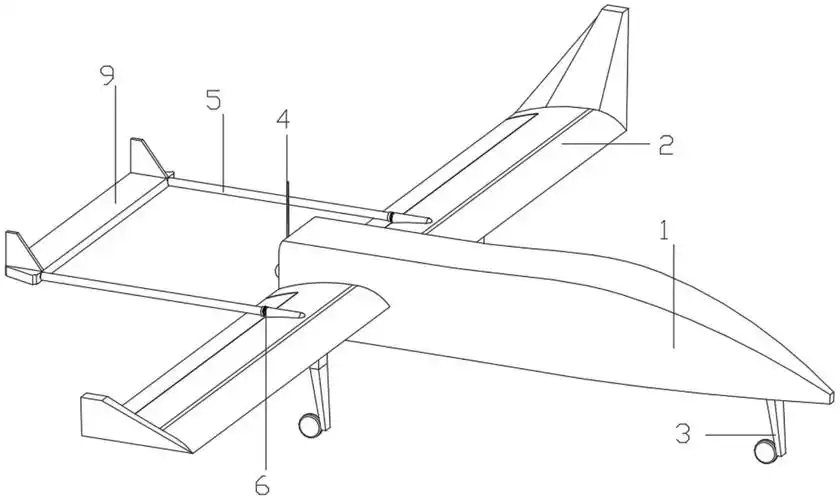
固定翼飞机机翼配置鸭-飞机

高清图片下载 免费 安全无风险
固定翼飞机机翼配置鸭-飞机

固定翼飞机机翼配置鸭-飞机

点击图片查看原图

图片信息

  • 格式: JPG
  • 尺寸: 750x635
  • 大小: 约1.2MB

版权声明

相关标签

自然风光 高清壁纸 4K画质

分享图片

相关推荐

基于当前图片的相似推荐

由铝合金槽钢和蒙皮构成的135度机翼的喷气式飞机

为什么飞机的机翼上面的部分不是一个规则的弧形

早期飞机上的布质蒙皮(蒙布)仅起维持外形的作用,机翼上的气动力通过

福克dr.i型三翼战斗机 #经典 #历史 #一战 #飞机 # - 抖音

民航客机的机翼是对称翼型还是不对称翼型? - 知乎

三视图,机翼的结构可以调整,机身细长,机头非常尖锐.

包括飞机机翼的装置及使用该装置的方法制造方法及图纸

a320 飞机维修手册中的fr是什么意思

一种复合材料无人机的机翼结构

具有压力翼刀的飞机机翼单元的制作方法

随机推荐

发现更多精彩图片

不是粉 但依然保存的朴彩英演唱会生图 仔细看来发现她五官真的没有

各种食物的简笔画 各种食物的简笔画大全可爱

一晚卖出8万册三毛流浪记走进薇娅直播间经典如何照亮当下

创意搞笑文字卡通图片

双15寸大功率舞台有源音响户外演出促销唱歌音箱家用功放一体机

古风插画,风景,人物,手绘,水彩,水墨画,涂鸦,唯美,意境,背景壁纸.

小型车辉煌不再?日产全新一代阳光何时归来?_手机搜狐网

那个瞬间让你抑制不住地想哭?房贷车贷压力大,哭完去接孩子