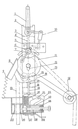
cn2298232y_小型防坠器失效

高清图片下载 免费 安全无风险
cn2298232y_小型防坠器失效

cn2298232y_小型防坠器失效

点击图片查看原图

图片信息

  • 格式: JPG
  • 尺寸: 914x952
  • 大小: 约1.2MB

版权声明

相关标签

自然风光 高清壁纸 4K画质

分享图片

相关推荐

基于当前图片的相似推荐

安全防坠器静负荷测试必不可少,消除危险因素防患于未然

施工升降机saj40防坠安全器

施工电梯--防坠安全器结构

速差式防坠器典型结构和主要零部件示意图

施工升降机防坠安全器

速差自控式人体防坠器

一种附着升降脚手架防坠器

人体防坠器厂家防坠安全器高空作业防坠器

cn2460125y_先减速后刹停的双缓冲防坠保险器失效

一种新型车辆停车设备的轴伸式防坠器制造技术

cn103879855a_防坠安全器失效

随机推荐

发现更多精彩图片

阳光少年王源帅气侧脸杀迷人写真

夏季流行的发型以中长和短款的微卷发型为主流,搭配一些微潮色显得

唐三最帅图片手机壁纸 - 搜狗图片搜索

惊恐万状的年轻无保障和有魅力的女人, 金发碧眼, 可爱的痣咬指甲, 皱

西班牙 - 收藏夹 - 知乎

荣获奖项:cctv第二届届全国戏曲院校学生电视大赛优秀表演奖.

【美图分享#2】初音未来

毛拉希金斯回到英国拍摄时尚风格展现了迷人的腰部曲线

青春励志语录配图_微信头像图片大全