牛皮纸包装袋自立自封休闲食品零食茶叶包装袋铝箔密封袋

高清图片下载 免费 安全无风险
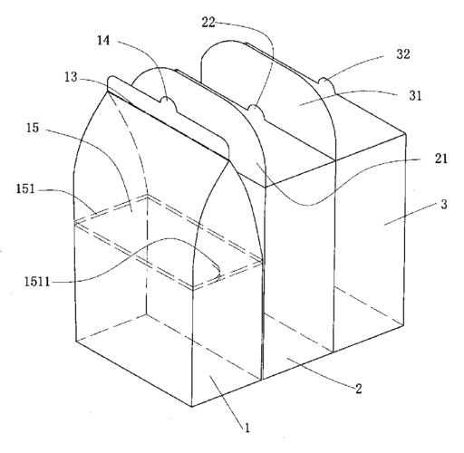
牛皮纸包装袋自立自封休闲食品零食茶叶包装袋铝箔密封袋

牛皮纸包装袋自立自封休闲食品零食茶叶包装袋铝箔密封袋

点击图片查看原图

图片信息

  • 格式: JPG
  • 尺寸: 790x625
  • 大小: 约1.2MB

版权声明

相关标签

自然风光 高清壁纸 4K画质

分享图片

相关推荐

基于当前图片的相似推荐

厂家供应opp包装袋透明塑料中封袋果冻棒棒糖食品袋可印刷logo

深圳厂家定制异形食品包装袋圆形不规则形状拉链袋铝箔包装袋定做

【红狼包装】大米包装袋,真空镀铝包装袋,熟食冷冻食品包装袋

枣夹核桃仁食品包装袋印刷

cn2473142y_环保食品包装袋失效

食品包装袋 (注平面图)

关键词:麻糬饼内包装袋矢量设计稿 食品 麻糬饼 内包装 矢量 4款 包装

卡通食品密封袋个性异形牛奶自立包装袋坚果燕麦塑料休闲食品袋

塑料包装袋 复合袋种子油包手提袋定做 真空食品袋厂家直销批发

小熊麦片巧克力设计图__包装设计_广告设计_设计图库_昵图网nipic.com

随机推荐

发现更多精彩图片

荷花花臂_纹身图案手稿图片_肖峰的纹身作品集

img_2952 全身照-嘴唇处理 去掉衣服黑斑-ok 圆形头像1.jpg

双力sl1304轮式拖拉机

森主演:维拉·法梅加,帕特里克·威尔森,弗兰西丝·奥康纳,麦迪逊

间谍之桥电影剧照高清壁纸下载

雅迪长白班包吃住组装6k

多彩束美丽的郁金香在春天植物自然概念

杜牧张好好: 孤灯残月伴闲愁,几度凄然几度秋.古来圣贤多寂寞 - 抖音