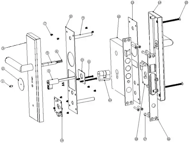
一种齿轮传动的单勾防盗门锁的制作方法

高清图片下载 免费 安全无风险
一种齿轮传动的单勾防盗门锁的制作方法

一种齿轮传动的单勾防盗门锁的制作方法

点击图片查看原图

图片信息

  • 格式: JPG
  • 尺寸: 740x1000
  • 大小: 约1.2MB

版权声明

相关标签

自然风光 高清壁纸 4K画质

分享图片

相关推荐

基于当前图片的相似推荐

玥玛防盗门锁体304不锈钢大门锁体家用防盗大门锁标准通用门锁24240锁

小米mi生态米家同款防盗门锁套装家用通用型不锈钢把手锁体木门锁大

专业生产研发防盗门密码锁,新品上市st0

供应室内门锁单舌 a0202d钛黑金室内门锁单舌 简约室内门锁单舌

自动下滑盖指纹密码防盗锁rs902sl

cn213540003u_一种智能防盗门锁结构有效

一种智能防盗门锁结构的制作方法

一种门锁防盗机构及防盗锁的制作方法

好新优半自动智能门锁b1组装示意图

一种防盗门锁的锁体自弹结构的制作方法

随机推荐

发现更多精彩图片

前两张图是一年半前,140kg现在是170kg所以劝大家一定不要胖

京东自营洗衣机清洗服务

新疆乌鲁木齐地窝堡国际机场

香烟极品之雪茄 _ 图片网

蒙德里安作品《红,黄,蓝的构成》

18650电池充电指示电路图.有木有

京剧q版卡通动漫人物马克笔手绘

难以想象!佛教修罗战场中,阿修罗战败只是因为帝释天的一句咒语

次年3月杀青,预计是在2021年制作完成,献礼建党100周年

擅长社会文化剖析和学者访谈,现为南风窗高级记者,新媒体副主编