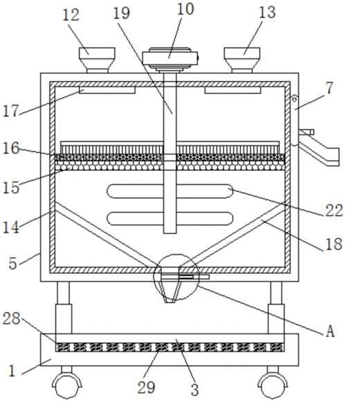
4槽超声波清洗机 - 通用设备图纸 - 沐风网

高清图片下载 免费 安全无风险
4槽超声波清洗机 - 通用设备图纸 - 沐风网

4槽超声波清洗机 - 通用设备图纸 - 沐风网

点击图片查看原图

图片信息

  • 格式: JPG
  • 尺寸: 700x456
  • 大小: 约1.2MB

版权声明

相关标签

自然风光 高清壁纸 4K画质

分享图片

相关推荐

基于当前图片的相似推荐

一种超声波清洗机的制作方法

超声波清洗机原理及清洗效果

明杰超声波清洗机清洗原理及应用领域分析

一种清洗医疗仪器用超声波清洗机

一种乙肝表面抗体检测试剂的超声波清洗机

塑料件超声波清洗机方案图 - 通用设备图纸 - 沐风网

包括清洗液加热箱,超声波清洗箱,夹紧机构和顶升机构,所述清洗液加热

cn101157085b_直线式超声波洗瓶机有效

一种超声波清洗机的制作方法

随机推荐

发现更多精彩图片

1瓶香水比北京别墅贵,泡奶粉只用进口矿泉水|戚薇|何炅|李承铉|安以轩

谁能帮我设计个 连笔 的签名啊 ( 任健)

红双喜高压锅-特价促销-优惠券领取-价格|多少钱|什么牌子好-35优惠券

画家刘振忠2016-2017现代抽象油画作品

一分钟 聊聊椎管狭窄的那点事儿

其它 梧州市寺冲小学简介 学校经过100多年的探索与实践,逐步确定了

1168翡翠雕山水人物摆件

【凤凰于飞|姓氏头像#专属姓氏头像# #你的专属姓氏头像# #姓氏头像

黄鹤楼硬191610mg版多少钱一条2023黄鹤楼香烟价格表

清远佛冈一个村草地发现大量小彩蛇村民将他们当宠物

这些电脑ipad壁纸也太可爱了

清水循环水养虾,一年养8茬,单产20斤/方,成本13-15元/斤_养殖_水产