一种污泥气提装置-爱企查

高清图片下载 免费 安全无风险
一种污泥气提装置-爱企查

一种污泥气提装置-爱企查

点击图片查看原图

图片信息

  • 格式: JPG
  • 尺寸: 1152x2672
  • 大小: 约1.2MB

版权声明

相关标签

自然风光 高清壁纸 4K画质

分享图片

相关推荐

基于当前图片的相似推荐

气提式污泥提升技术

气提排泥装置厂家_气提排泥装置_扬州三水(查看)

气提式污水泵布气装置

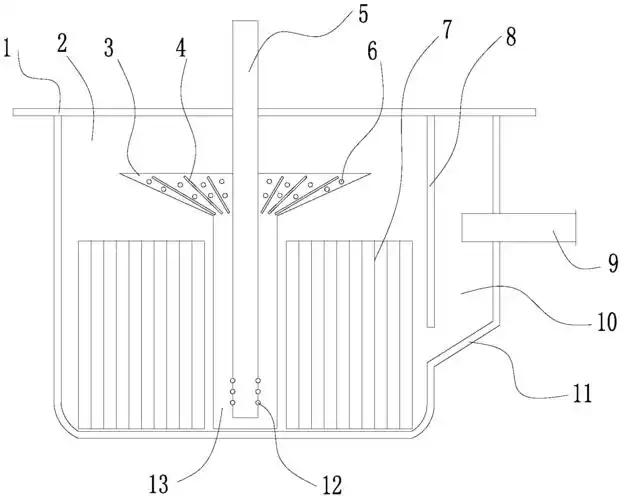
一种污泥气提装置的制作方法

气提- 过滤原理 - 罗缸过滤 - 鱼缸设计及过滤 - 观赏鱼百科

气提装置的结构1,集泥沟内分隔为若干集泥斗.

污水处理用气提技术

【活性砂过滤器】_采购_厂家_报价_选型_参数_配置_外形图_原理_功能

无忧文档 所有分类 自然科学 化学 水样的采集和保存ppt (一)气提

随机推荐

发现更多精彩图片

腾讯视频自制电视剧猎冰定档姚安娜张颂文主演

本山大叔眼光一直可以的,大脚婶儿年轻时也好看.

一,鼻子中央有痣的女人

0143赵之谦书画集中国画名家作品粹编赵之谦画集

爱尔兰成为移民心目中第四大友好国家!移民融入度最高!

为什么电脑不显示缩略图 之前有朋友提问为什么文件夹里的图片显示不

难受,胃痛了起来,大家一定要养.

马克笔漫画教程 古风人物篇

不完美的原生家庭最好的郭麒麟郭式教育有三点值得借鉴

mi小米 红米note5 全网通智能手机 6gb 64gb 新低1399元包邮(小米商城

拍得很可爱吧?来,和河狸宝宝击个掌!双手抱住的可爱动作.

细节优化新款林肯飞行家官图发布