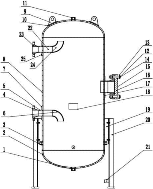
a2试制品方案1.5m立式co2储罐 - q345r

高清图片下载 免费 安全无风险
a2试制品方案1.5m立式co2储罐 - q345r

a2试制品方案1.5m立式co2储罐 - q345r

点击图片查看原图

图片信息

  • 格式: JPG
  • 尺寸: 664x926
  • 大小: 约1.2MB

版权声明

相关标签

自然风光 高清壁纸 4K画质

分享图片

相关推荐

基于当前图片的相似推荐

10立方立式贮罐总装图

一种立式储气罐制造技术

立式不锈钢储罐组装工程

【厂家直发】1立方 申江立式储气罐 压力容器 平价大放送

10立方米立式贮罐cad图纸

大型钢制圆筒式储罐的导链式倒装法施工

液化石油气储罐--50立方地埋

双层立式搅拌储罐系列 2.png

随机推荐

发现更多精彩图片

撒汤培训技术哪里学

w00734韩版夏季潮牌短袖t恤卡通女孩印花休闲新款上衣ins-阿里巴巴

rp286 普拉达时尚传奇机器娃娃项链

qq企鹅图标设计-qq企鹅图标素材-qq企鹅图标图片-觅知网

迪斯尼卡通明星 公主 壁纸(二)16 - 1440x900

标签:炸鸡一桶美味炸鸡一桶炸鸡炸鸡美味炸鸡炸鸡烤鸡卡通炸鸡炸鸡块

女生西瓜刘海短发发型图片潮流西瓜头短发很吸晴

常见病毒木马进程速查表

情侣旅游时遭偷拍40分钟私密视频遭4万人围观

这是职员的一个例子.

寻木匠简易碗柜家用厨房柜子餐边柜不锈钢储物柜小橱柜组装收纳柜经济

c户型 1/3栋04-3室2厅2卫-122m