天官手绘动漫头像谢怜花城|"天官赐福,百无禁忌"_网易订阅

高清图片下载 免费 安全无风险
天官手绘动漫头像谢怜花城|"天官赐福,百无禁忌"_网易订阅

天官手绘动漫头像谢怜花城|"天官赐福,百无禁忌"_网易订阅

点击图片查看原图

图片信息

  • 格式: JPG
  • 尺寸: 660x586
  • 大小: 约1.2MB

版权声明

相关标签

自然风光 高清壁纸 4K画质

分享图片

相关推荐

基于当前图片的相似推荐

天官赐福 花城和谢怜

谢怜高清头像天官赐福

天官赐福谢怜自截头像_谢怜动漫可爱头像_三千图片网

动漫男生头像动漫天官赐福花城头像图集

男生头像频道提供更多与天官赐福,帅气,动漫相关的头像图片挑选下载

动漫男生头像动漫天官赐福花城头像图集

动漫男生头像动漫天官赐福花城头像图集

动漫/情侣/头像/天官赐福

动漫头像/动漫男生头像/男生头像/天官赐福

「第135期」动漫男头:天官赐福 谢怜二次元男生头像

动漫男生头像动漫天官赐福花城头像图集

天官赐福漫画头像,动漫头像图片

随机推荐

发现更多精彩图片

张艺兴新专辑试听好评如潮 大航海起航待即

rainbow性感美腿- to me【mp4/148m/115】

高冷霸气戴墨镜女生头像很有范的女孩戴墨镜图片霸气头像

王莹:中国著名青年女高音歌唱家,解放军艺术学院教师,她音色醇厚,音色

创造营2021韩佩泉这个造型是什么鬼没眼看

肛门息肉临床的图片_有来医生

【宝可梦卡牌】我的创世神阿尔宙斯收藏!ptcg-母婴亲子视频-搜狐视频

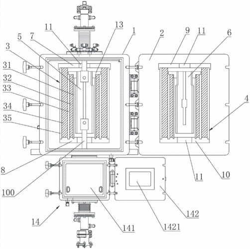
一种超高温力学性能测试高温炉及其加热方法与流程

jf中式九球美式球中黑科技斯诺克小头碳纤维大头台球杆

勇敢的准爸妈,是什么让他们选择坚持顺利生下小千金?

东京食尸鬼高清头像