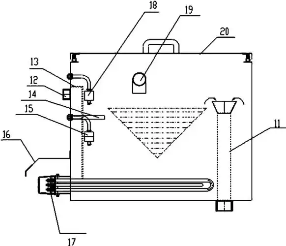
超声波清洗机的配置

高清图片下载 免费 安全无风险
超声波清洗机的配置

超声波清洗机的配置

点击图片查看原图

图片信息

  • 格式: JPG
  • 尺寸: 536x307
  • 大小: 约1.2MB

版权声明

相关标签

自然风光 高清壁纸 4K画质

分享图片

相关推荐

基于当前图片的相似推荐

一种节能降噪的超声清洗机制造技术,小型超声波清洗机专利_技高网

价销售小型超声波清洗机 m3000 超声波清洗仪 超音波清洗机

超声波清洗机原理及清洗效果

一种噪音小的数控超声波清洗机

超声波清洗机设备结构,工作原理

一种自动超声波清洗机高位水箱以及包含该水箱的清洗机

一种具有风干功能的喷淋式超声波清洗机的制作方法

风循环超声波清洗机的制作方法

一种具有定位结构的超声波清洗机

一种镜片用超声波清洗机的制作方法

超声波清洗机的工作效率 雷士超声

一种超声波清洗机制造技术

随机推荐

发现更多精彩图片

水族彩绘贝壳吊坠neckace纯银链玻璃珍珠水晶串珠项链串珠饰品彩绘

newjeans的haerin机场双丸子头造型简洁又可爱

原创杨幂早年语录及照片流出长红十余年不是没有原因的

喻娄品牌马丁靴男低帮英伦真皮休闲皮鞋男复古大头鞋内增高男鞋工装鞋

动漫女生头像古风/ 池玥 君书 古风女生头像古风女子头像,你穿红衣的

大众新款途观l实车到店图,造型动感内饰豪华,别着急买现款_凤凰网汽车

属你最棒,展我风采 ——二年级二班寒假作业展评

热压压花化纤地毯pp丙纶圈绒橡胶边框玄关入门入户进门口门垫地垫

二年级数学乘法口算练习题20039doc