证件照整了个黄金比例脸模板哈哈哈哈各位刘亦菲们帮忙看一下p2p3

高清图片下载 免费 安全无风险
证件照整了个黄金比例脸模板哈哈哈哈各位刘亦菲们帮忙看一下p2p3

证件照整了个黄金比例脸模板哈哈哈哈各位刘亦菲们帮忙看一下p2p3

点击图片查看原图

图片信息

  • 格式: JPG
  • 尺寸: 1080x1439
  • 大小: 约1.2MB

版权声明

相关标签

自然风光 高清壁纸 4K画质

分享图片

相关推荐

基于当前图片的相似推荐

黄金比例脸黄金比例脸p图模板2022已更新今日更新

在《我就是演员》节目里,子怡老师的专业和严谨再度圈粉无数.

让脸在视觉上变窄,所以说,化妆前先了解自己的脸型和五官比例,再根据

图解标准的脸型黄金比例

面部黄金比例|缺不了精致下巴

黄金比例脸黄金比例脸p图模板2022已更新今日更新

人脸黄金比例参考线

黄金比例脸型欣赏female golden ratio face strong affirmations

黄金比例脸黄金比例脸p图模板2022已更新今日更新

三与五的黄金比:完美比例的脸型从正面看,纵向大致可分为上脸部(前额

随机推荐

发现更多精彩图片

jennie前往巴黎看秀 淡妆全黑造型亮相机场||| jennie于今日出发前往

迪丽热巴居然才排第五?全世界最美面孔,中国美女入围四位

【图】手动挡换挡示意图_景程论坛_汽车之家论坛

尊享版就挺好一汽丰田亚洲狮购买推荐

项目时间进度表_文档下载

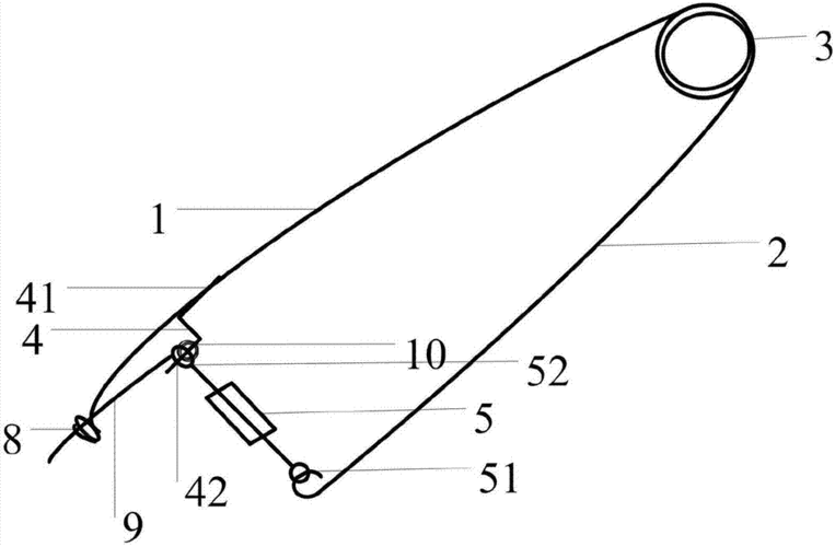
一种自动钓鱼器的制作方法

禹州市体育场塑胶跑道

作品信息 立即下载 ppt图片简介: 这是一款清新淡雅水墨 荷花ppt背景