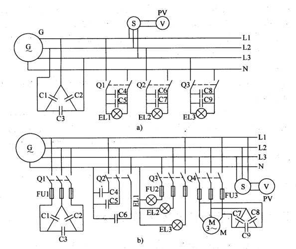
小型汽油发电机怎么接线

高清图片下载 免费 安全无风险
小型汽油发电机怎么接线

小型汽油发电机怎么接线

点击图片查看原图

图片信息

  • 格式: JPG
  • 尺寸: 701x669
  • 大小: 约1.2MB

版权声明

相关标签

自然风光 高清壁纸 4K画质

分享图片

相关推荐

基于当前图片的相似推荐

柴油发电机组外部接线,接地,电瓶接线图解大全

燃油发电机供电控制器电路由刀开关q1-q3,熔断器fu1-fu3,交流接触器km

农用三轮车小发电机的接线图

柴油发电机并联同步接线图.png

求15kw三相发电机接线图

12v发电机与电瓶接线图(12v发电机线路接法图解)

jf1114v交流发电机接线图

怎样把电动机改装成发电机呢?有电路图吗?

画汽车发电机和整流器的电路连接图,简单说明如何将交流电变成直流电?

220v3千w两相交流发电机震流桥接线图

cn102163951a_交通工具发电机有效

随机推荐

发现更多精彩图片

楼主 [回复] 吃家双 [malt454002] 3楼 鹿晗这张侧脸像黄子韬

太帅了吧#seventeen #文俊辉 #氛围感 - 抖音

如何画站着的小猪简单又漂亮站着的小猪简笔画教程

画室转介绍卡/好友卡/试听卡/招生卡 尺寸:大约160701568mm 定制

假面骑士20周年纪念 平成世代 forever 壁纸

glassvision##程潇程晨姐妹青春篇章大片

25942手绘动物中国风凤凰2591320376矢量卡通森林拟人动物淡彩简笔画

国内新闻 呼和浩特4名重刑犯越狱专题 > 正文 本报呼和浩特讯 (特派

家曾调查了788只于1999至2000年间从热带雨林中被猎捕的野生猴子和猿

qq飞车赛车简笔画k24qq飞车简笔画视频qq飞车板车简笔画qq飞车板车简

搞笑视频#癞蛤蟆想吃天鹅肉