一种搅拌设备

高清图片下载 免费 安全无风险
一种搅拌设备

一种搅拌设备

点击图片查看原图

图片信息

  • 格式: JPG
  • 尺寸: 1534x1279
  • 大小: 约1.2MB

版权声明

相关标签

自然风光 高清壁纸 4K画质

分享图片

相关推荐

基于当前图片的相似推荐

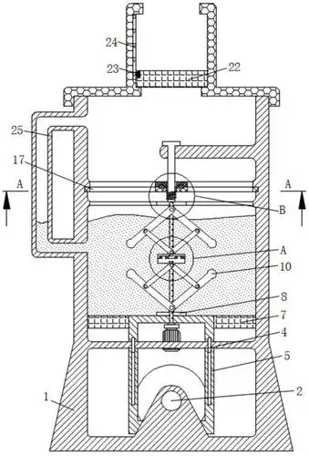
本发明涉及工程机械设备领域,尤其是涉及到一种环保型混凝土搅拌机.

一种集料器用刮壁搅拌装置-爱企查

双轴搅拌机在我国的技术发展概况

一种润滑油生产加工用的搅拌装置

砂轮原料的原料搅拌装置-爱企查

一种不锈钢轴流式搅拌器

一种改进的实验用搅拌装置

cn213198218u_一种混凝土高效搅拌装置

一种基于差速离心原理的提高搅拌效果的搅拌设备

一种便于清洗的混凝土搅拌装置

一种保温去泡沫的机械搅拌装置制造方法及图纸

一种石墨烯粉末搅拌设备

随机推荐

发现更多精彩图片

驰骋苍穹的雄鹰唯美摄影高清壁纸

2001年,王大珩在学院实习工厂,与学生亲切合影

原创男子尬舞成抖音热门100天水彩画打卡成小红书爆款

>> 文章内容 >> led舞台背景 在舞台做一块led大屏幕做多大尺寸好答

饰演如懿传里反派人物慎嫔曾一萱演技在线哦

和道日语高考日语学习五十音长音拗音怎样发才标准第28集

矢量儿童插画室外场景

假还阳参生长适应性强可用于盐碱地沙漠缘化改善生态环境

厦门罗森便利店608店齐开必买清单全攻略

【图】80史上最漂亮改装_奔腾x80论坛_汽车之家论坛