城市中一座大型建筑的局部视图

高清图片下载 免费 安全无风险
城市中一座大型建筑的局部视图

城市中一座大型建筑的局部视图

点击图片查看原图

图片信息

  • 格式: JPG
  • 尺寸: 329x494
  • 大小: 约1.2MB

版权声明

相关标签

自然风光 高清壁纸 4K画质

分享图片

相关推荐

基于当前图片的相似推荐

20 工图画局部视图.我没看出哪里有不清晰啊

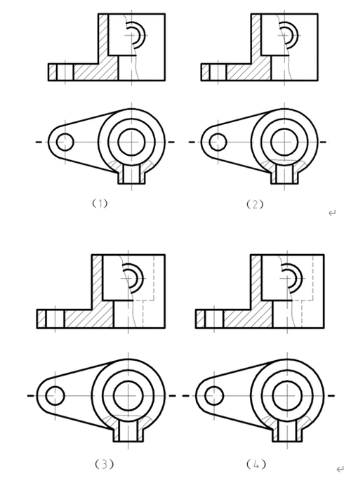
下列局部剖视图中正确的画法是

判断局部视图a和b的画法哪个完全正确?

判断下列斜视图和局部视图的画法哪个完全正确?

下列局部剖视图中正确的画法是

如图所示机件左侧凸台局部视图(红色)绘制是否正确?

判断下列一组视图中正确的局部剖视图表达是

一道工程制图,局部剖视图的题目,如图,求解释,正确吗?

下面两张局部剖视图画的对吗

俯,左视图,补画右,仰后视图5-1-2 在指定地址画出 a 向局部视图5-7-2

如何在sw的工程图中对局部视图标注完整的尺寸?

随机推荐

发现更多精彩图片

你有胡歌帅炸天的照片吗?或者自黑的也行,或者丑的也行? - 知乎

曼巴out英雄永不落幕科比励志语录

王嘉尔创造营亚洲泰国季发起人##王嘉尔##magicman2

新鲜干粽叶粽子叶通货粽叶子新鲜粽叶包粽子叶包棕子叶包邮500克

微摄app世界上最美的蜻蜓图片

情侣两人去成都需要多少钱 ,景点攻略干货,值得收藏,内附行程

风水中的藏风纳气是什么

将近十点,解放街,酒坊巷,开门的商户也渐渐增多了,以奶茶店,烘培店和

射干中药材 500g克 射干片【图片 价格 品牌 报价】-京东