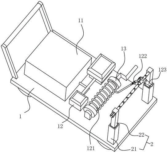
一种具有搅拌功能的农作物杀虫喷药机的制作方法

高清图片下载 免费 安全无风险
一种具有搅拌功能的农作物杀虫喷药机的制作方法

一种具有搅拌功能的农作物杀虫喷药机的制作方法

点击图片查看原图

图片信息

  • 格式: JPG
  • 尺寸: 443x227
  • 大小: 约1.2MB

版权声明

相关标签

自然风光 高清壁纸 4K画质

分享图片

相关推荐

基于当前图片的相似推荐

一种高架农作物喷药机的制作方法

玉米大豆带状复合种植除草喷药机机组的制作方法

图 6 自走式高地隙喷杆喷雾机结构示意图

一种玉米种植用的农药喷药机的制作方法

一种农业用具有防护功能的喷药机的制作方法

一种桃子种植用喷药机的制作方法

一种牧草种植用喷药机的制作方法

一种农垦专用喷药机

在农业生产中对于与农作物的病虫害需要使用喷药机农作物进行喷药

一种高杆作物自动施肥喷药机制造技术

本实用新型涉及农作物药物喷洒设备的技术领域,尤其是涉及一种喷药机.

一种高架农作物喷药机的制作方法

随机推荐

发现更多精彩图片

正版原厂吴彦祖面具抖音除暴新警察故事同款搞笑头套收手吧阿祖

小白头像,爱了爱了~99 #头像 #头像控 #白敬亭 #白敬 - 抖音

大明重塑民族认同,康乾奠定现代版图

像素画 #方格画 #凹凸世界 —安迷修 - 抖音

华润映樾府→售楼处电话→售楼中心官网→楼盘百科→24小时电话

国画 拟李苦禅《松鹰图》 素练风霜起,苍鹰画作殊. 耸身 - 抖音

十字一字批头迷你小螺丝刀 手机拆机工具玩具螺丝批起子 【蓝色】2.

面粉奶粉定量勺子承重电子秤辅食沾手

主流汽车品牌车钥匙一览.那个品牌的车钥匙最有质感,最高级 # - 抖音

猜字谜,一半儿打一字,正确答案你永远想不到