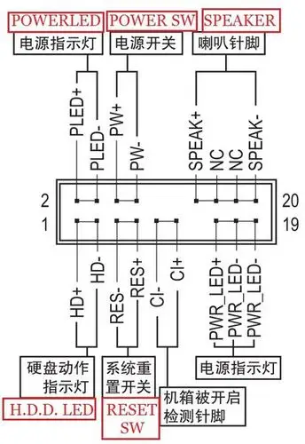
技嘉z97x-ud3h主板 的跳线怎么接,我是新手,谢谢各位

高清图片下载 免费 安全无风险
技嘉z97x-ud3h主板 的跳线怎么接,我是新手,谢谢各位

技嘉z97x-ud3h主板 的跳线怎么接,我是新手,谢谢各位

点击图片查看原图

图片信息

  • 格式: JPG
  • 尺寸: 1392x761
  • 大小: 约1.2MB

版权声明

相关标签

自然风光 高清壁纸 4K画质

分享图片

相关推荐

基于当前图片的相似推荐

技嘉170xud3怎么安装跳线

技嘉主板z87p-d3跳线怎么插?

技嘉主板跳线肿么接,技嘉主板跳线肿么接知识

主板跳线接法 - 疯狂の猿猴

技嘉主板ga-h55m-s2 跳线插法. 求大神解析图.谢谢

技嘉b85-d3v 怎么跳线啊

技嘉z170 d3h主板的跳线怎么连接到机箱上啊

电脑主板跳线要怎么接电脑主板跳线接法图解析

技嘉这个跳线怎么接?详解,我笨!

技嘉主板ma785gmus2h怎么插开机线

技嘉b360主板,无法装系统,怎么解决?

这些主板跳线怎么插,急,在线等

随机推荐

发现更多精彩图片

古装短剧虚颜男主角帅到爆红撞脸陈冠霖

ins 背景图 蓝 - 堆糖,美图壁纸兴趣社区

【预订】seen but not heard - the implemented

铠【绛天战甲】(传说),2月初上线,图片不是新皮肤的,新皮肤是机甲风格

粤教版地理七年级下册93巴西习题课件共29张ppt

性感气质女郎紧身牛仔裤修长双腿身材丰腴实在是好看

数学 18道题阅读和语法 15道题官方名称叫digital sat sample

注射器5ml10ml20ml30ml50ml塑料畜牧兽用针筒畜牧

日军动用重炮大和魂军官也只在课本上见过

西游记之大闹天宫概括200字